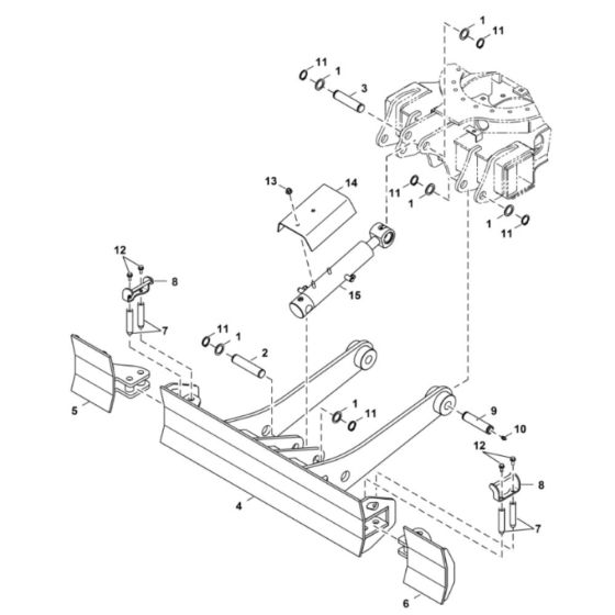
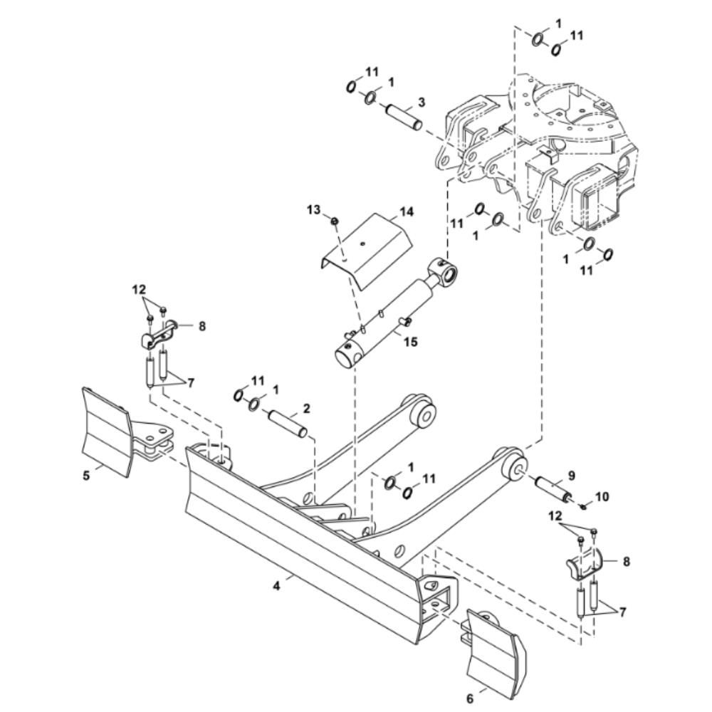
Description
The Blade (Std) Assembly for BobCat E17 Mini Excavators is designed to ensure optimal performance and durability. This assembly includes essential components that are crucial for the effective operation of the excavator's blade mechanism. Suitable for serial numbers B27H13239, it offers both genuine and non-genuine parts to meet various maintenance needs.
Reviews
Add a review
Write Your Own Review
Ask a Question
Customer Questions

