Description
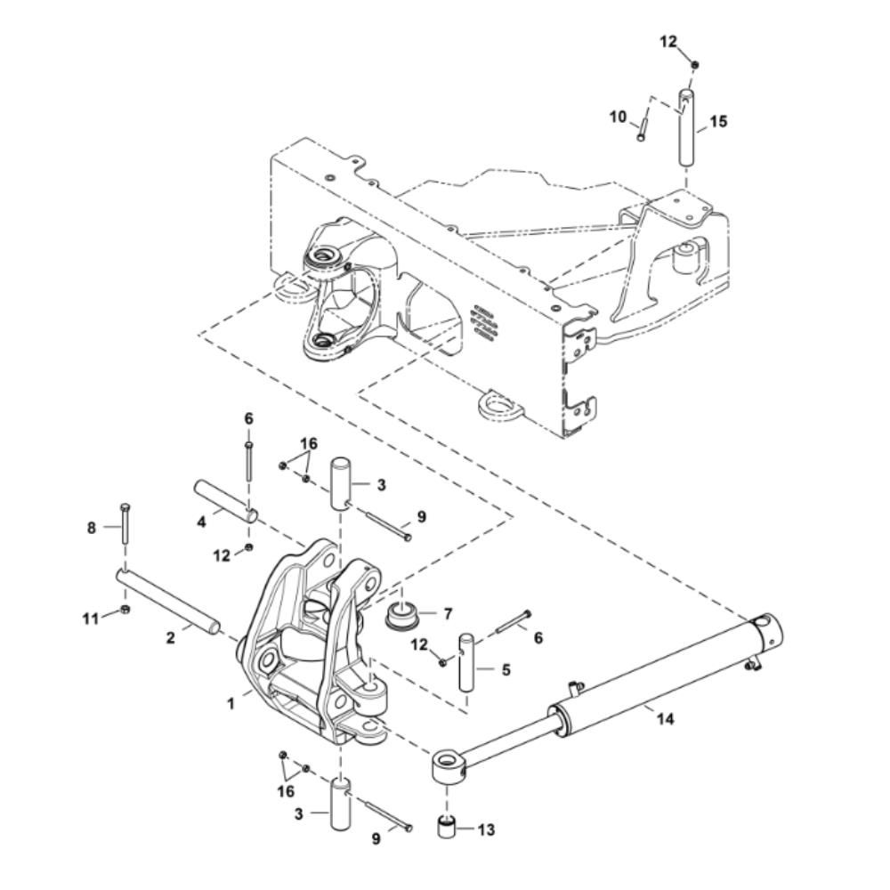
The Boom Swing Frame Assembly for BobCat E17Z Mini Excavators is designed to ensure optimal performance and durability. This assembly includes components such as pins, bushings, and brackets, which are crucial for the smooth operation of the boom swing mechanism. Suitable for models with serial numbers B4AW11001 to B4AW11660, it supports efficient excavation tasks.
Reviews
Add a review
Write Your Own Review
Ask a Question
Customer Questions

