Description
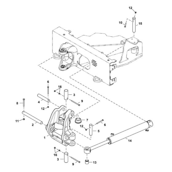
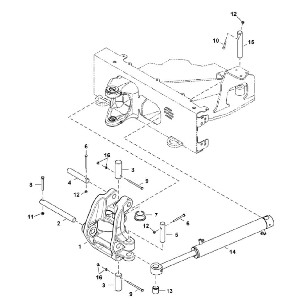
The Boom Swing Frame Assembly for BobCat E17Z Mini Excavators is designed to ensure optimal performance and durability. Suitable for models with serial numbers B4PT11001 and above, this assembly includes components such as pins, bushings, and brackets. It plays a crucial role in the machine's manoeuvrability and stability, providing reliable operation in various construction tasks.
Reviews
Add a review
Write Your Own Review
Ask a Question
Customer Questions

