Description
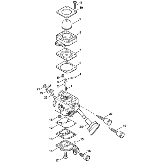
The Carburetor C1M-100299 BR Assembly is designed for the Stihl BG56 Blower, ensuring optimal engine performance. This assembly includes components like gaskets, springs, and levers, crucial for maintaining fuel efficiency and engine reliability. Suitable for routine maintenance and repairs, it helps keep your blower running smoothly by regulating the air-fuel mixture effectively.
Reviews
Add a review
Write Your Own Review
Ask a Question (1)
Customer Questions

