Description
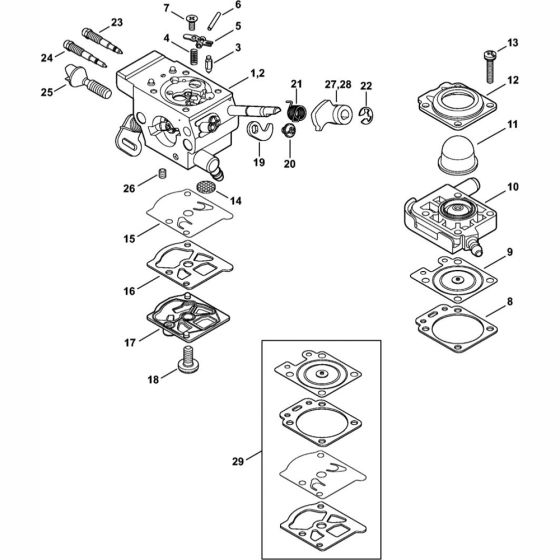
The Carburetor WTF-6 WTF-11 Assembly is designed for the Stihl FR410C and FR460TC Backpack Brushcutters. This assembly ensures optimal fuel mixing and engine performance. It includes components such as gaskets, springs, and levers, essential for maintaining the brushcutter's efficiency. Available in genuine and non-genuine parts, it supports routine maintenance and repair needs.
Reviews
Add a review
Write Your Own Review
Ask a Question
Customer Questions

