Description
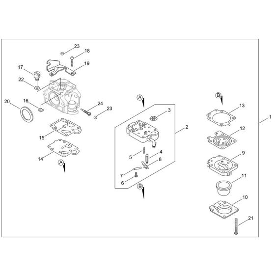
The carburettor for the ECHO SRM-300TES/U Brushcutter is essential for optimal engine performance. It mixes air and fuel to ensure efficient combustion, maintaining the brushcutter's power and reliability. Available in both genuine and non-genuine parts, this component is crucial for routine maintenance and repair, helping to extend the machine's service life.
Reviews
Add a review
Write Your Own Review
Ask a Question
Customer Questions

