Description
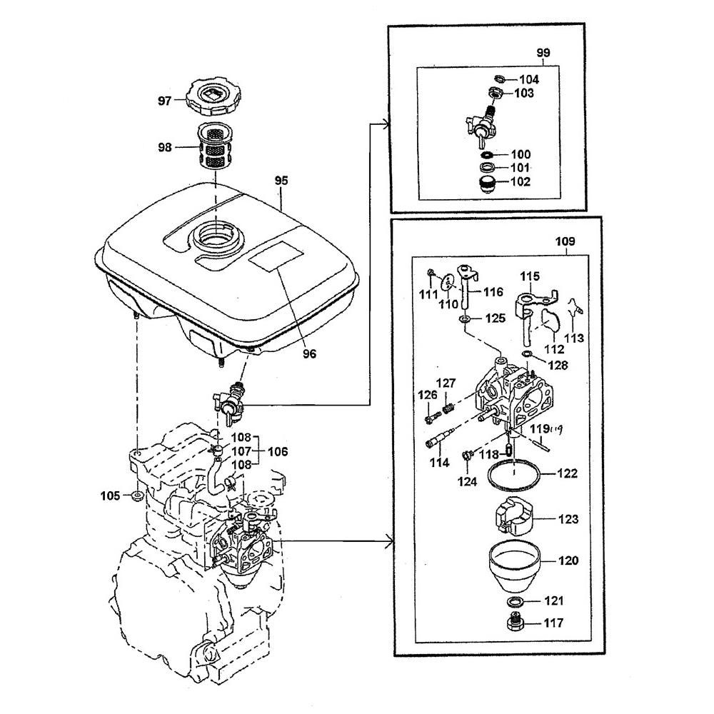
The Carburettor and Fuel Tank Assembly for the Makita EW200R Water Pump includes key components to ensure efficient fuel delivery and engine performance. This assembly is crucial for maintaining the pump's reliability and longevity. Available parts may include gaskets, fuel lines, and mounting brackets, suitable for both genuine and non-genuine options.
Reviews
Add a review
Write Your Own Review
Ask a Question
Customer Questions

