Description
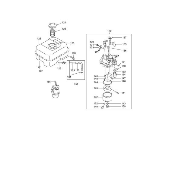
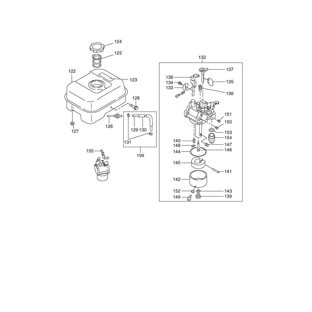
The Carburettor and Fuel Tank Assembly for the Makita EW220R Water Pump includes essential components to ensure efficient fuel delivery and engine performance. This assembly helps maintain optimal operation by regulating fuel flow and storage. Available parts include carburettors, fuel tanks, gaskets, and hoses, suitable for both genuine and non-genuine replacements.
Reviews
Add a review
Write Your Own Review
Ask a Question
Customer Questions

