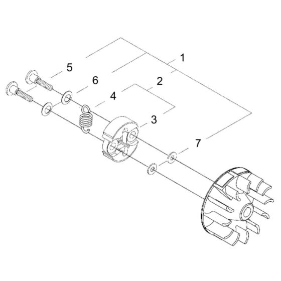
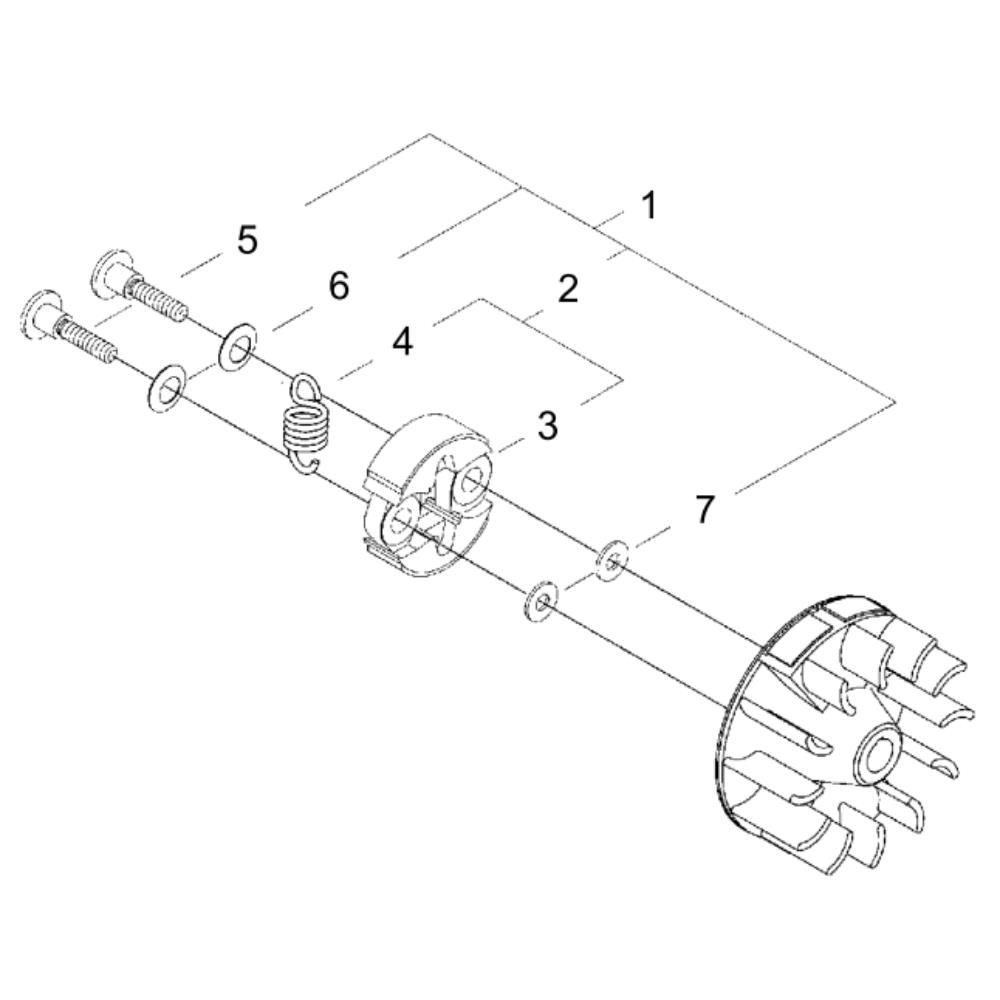
Description
The clutch for the ECHO SRMF-250 Brushcutter is crucial for engaging and disengaging the cutting mechanism, ensuring efficient operation. This component is available in both genuine and non-genuine options, catering to different maintenance needs and budgets. Designed to fit seamlessly, it helps maintain the brushcutter's performance and reliability.
Reviews
Add a review
Write Your Own Review
Ask a Question
Customer Questions

