Description
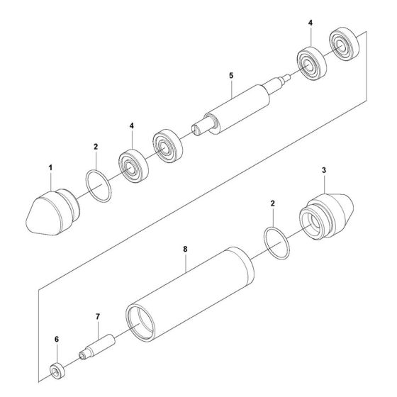
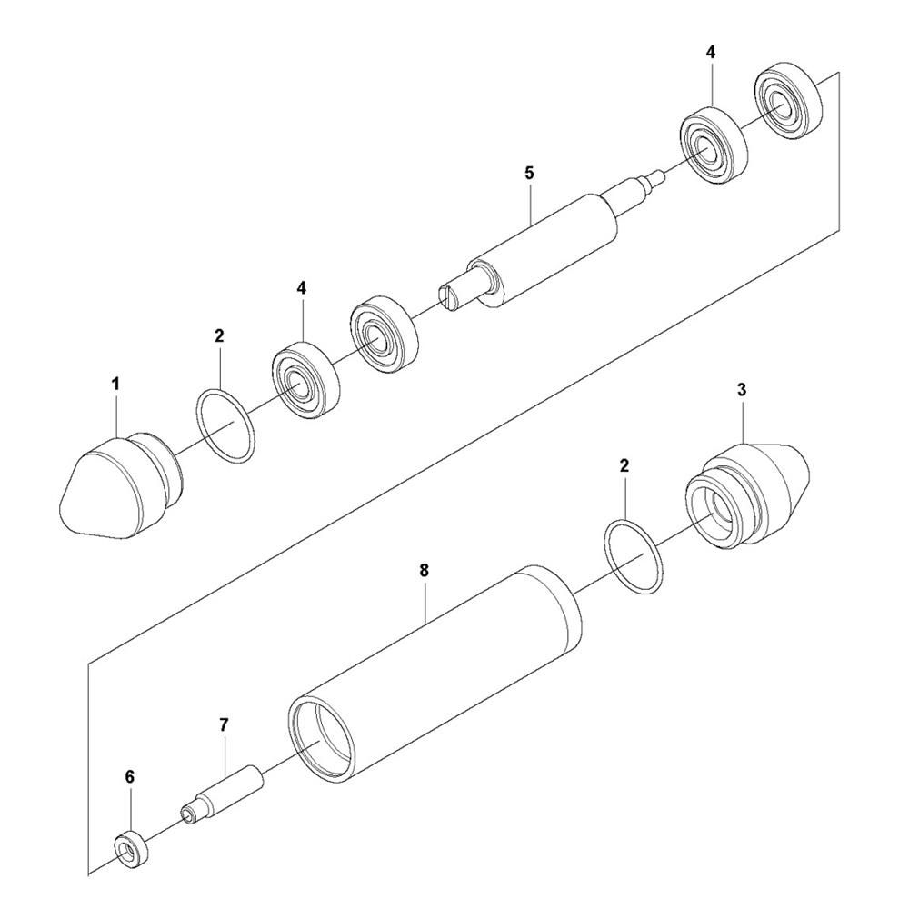
The Complete Assembly for Husqvarna AT 49 Poker includes essential components to ensure optimal performance and longevity. Designed for maintenance and repair, this assembly helps maintain the efficiency of your equipment. Genuine Husqvarna parts are included, such as gaskets, springs, and levers, providing reliable operation.
Reviews
Add a review
Write Your Own Review
Ask a Question
Customer Questions

