Description
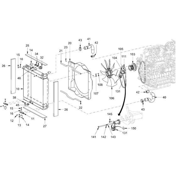
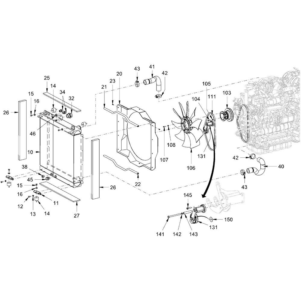
Cooling system components for the Hamm DV+ 70i (H225) Roller ensure optimal engine and hydraulic oil temperatures. These parts are essential for maintaining efficient operation and preventing overheating. Genuine Hamm parts include radiators, fans, hoses, and thermostats, designed to fit seamlessly and perform reliably under demanding conditions.
Reviews
Add a review
Write Your Own Review
Ask a Question
Customer Questions

