Description
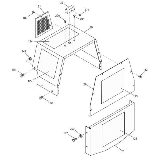
The Cover Assembly for the Wacker RS800H Roller includes essential components to protect and maintain the roller's functionality. Designed for the Wacker Neuson Single Drum Roller, this assembly ensures the machine operates efficiently by safeguarding internal parts from external elements. Components may include panels, fasteners, and seals.
Reviews
Add a review
Write Your Own Review
Ask a Question
Customer Questions

