Description
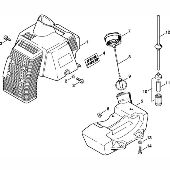
The Cover Fuel Tank Assembly for the Stihl FR108 Backpack Brushcutter ensures optimal fuel storage and delivery. This assembly includes components such as caps, seals, and hoses, designed to maintain the brushcutter's performance and reliability. Regular maintenance of these parts helps prevent leaks and ensures efficient fuel flow, contributing to the longevity of the machine.
Reviews
Add a review
Write Your Own Review
Ask a Question
Customer Questions

