Description
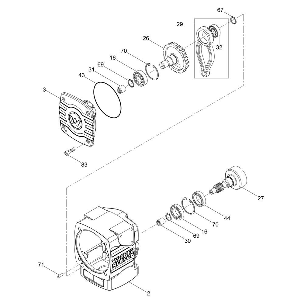
The Crankcase Assembly for the Wacker BS60-4s Trench Rammer is designed to house and protect the engine's moving parts, ensuring efficient operation. This assembly is crucial for maintaining the integrity and performance of the rammer, preventing dust and debris from entering the engine. Genuine Wacker Neuson parts ensure compatibility and durability.
Reviews
Add a review
Write Your Own Review
Ask a Question
Customer Questions

