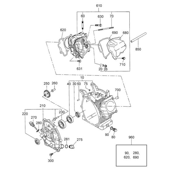
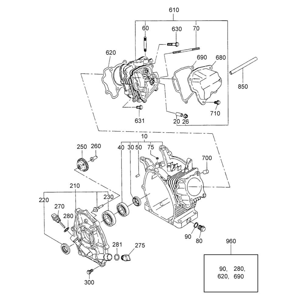
Description
The Crankcase Assembly for the Wacker PDI2 Pump is essential for maintaining the pump's efficiency and longevity. This assembly includes components that ensure the smooth operation of the diaphragm trash pump, protecting it from wear and tear. Genuine Wacker Neuson parts are used to guarantee compatibility and performance. Ideal for routine maintenance and repairs, this assembly helps in sustaining optimal pump function.
Reviews
Add a review
Write Your Own Review
Ask a Question
Customer Questions

