Description
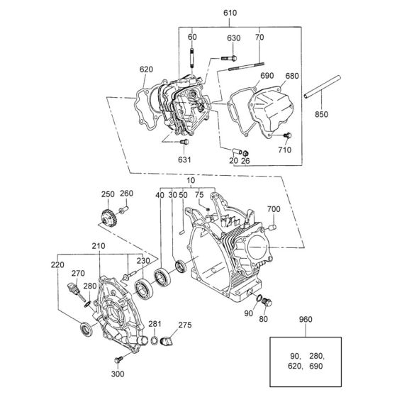
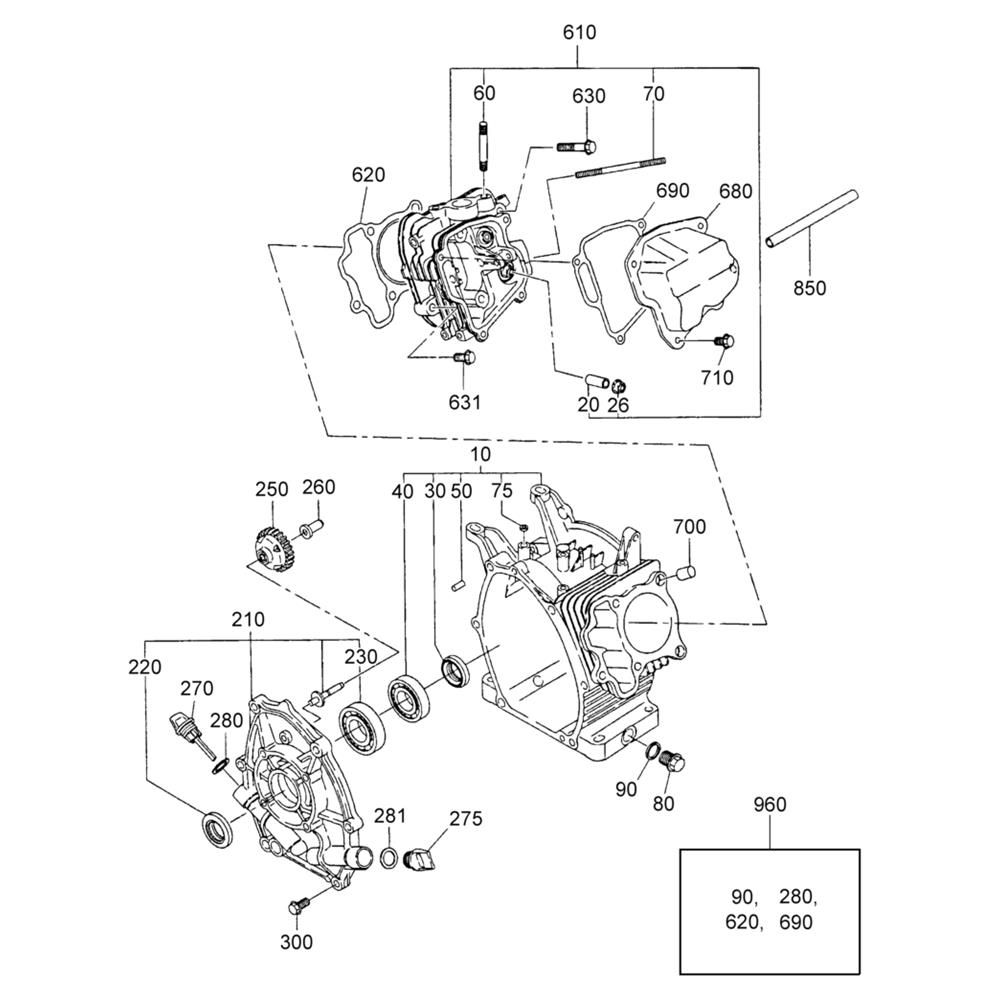
The Crankcase Assembly for the Wacker PDI3 Pump is crucial for maintaining the pump's efficiency and longevity. This assembly includes key components such as gaskets, seals, and bearings, ensuring optimal performance and durability. Designed for the Wacker Neuson Diaphragm Trash Pump, it helps in reducing wear and tear by providing a secure housing for the crankshaft and related parts.
Reviews
Add a review
Write Your Own Review
Ask a Question
Customer Questions

