Description
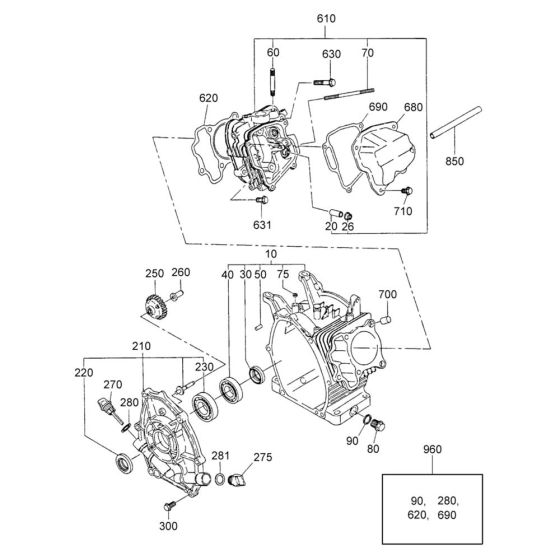
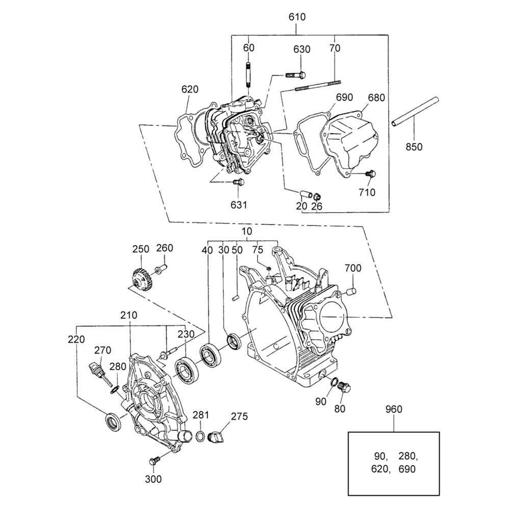
The Crankcase Assembly for the Wacker PDT2 Pump is essential for maintaining the pump's efficiency and longevity. It houses critical components that ensure smooth operation and protect against wear. This assembly is designed for the Wacker Neuson Diaphragm Trash Pump, providing reliable performance in demanding environments. Components include seals, gaskets, and bearings, all crucial for optimal functioning.
Reviews
Add a review
Write Your Own Review
Ask a Question
Customer Questions

