Description
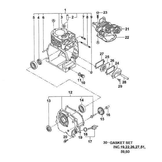
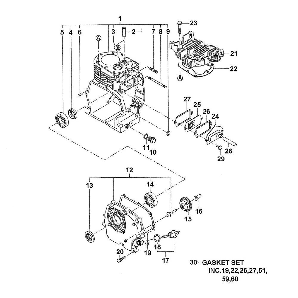
The Crankcase, Cylinder Assembly for the Makita EW200ST Water Pump includes key components essential for optimal engine performance. This assembly ensures efficient operation by housing the cylinder and other critical parts, such as gaskets and seals, which help maintain compression and prevent leaks. Available in both genuine and non-genuine parts, it supports regular maintenance and repair needs.
Reviews
Add a review
Write Your Own Review
Ask a Question
Customer Questions

