Description
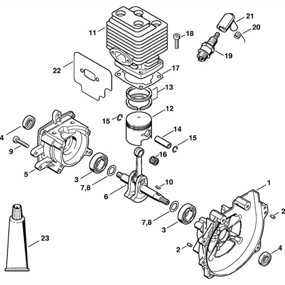
The Crankcase & Cylinder Assembly for the Stihl FR135 Backpack Brushcutter is essential for maintaining engine integrity and performance. This assembly includes components like the crankcase, cylinder, and seals, ensuring efficient operation. Designed for durability, it helps protect the engine from wear and tear, supporting reliable brushcutting tasks.
Reviews
Add a review
Write Your Own Review
Ask a Question
Customer Questions

