Description
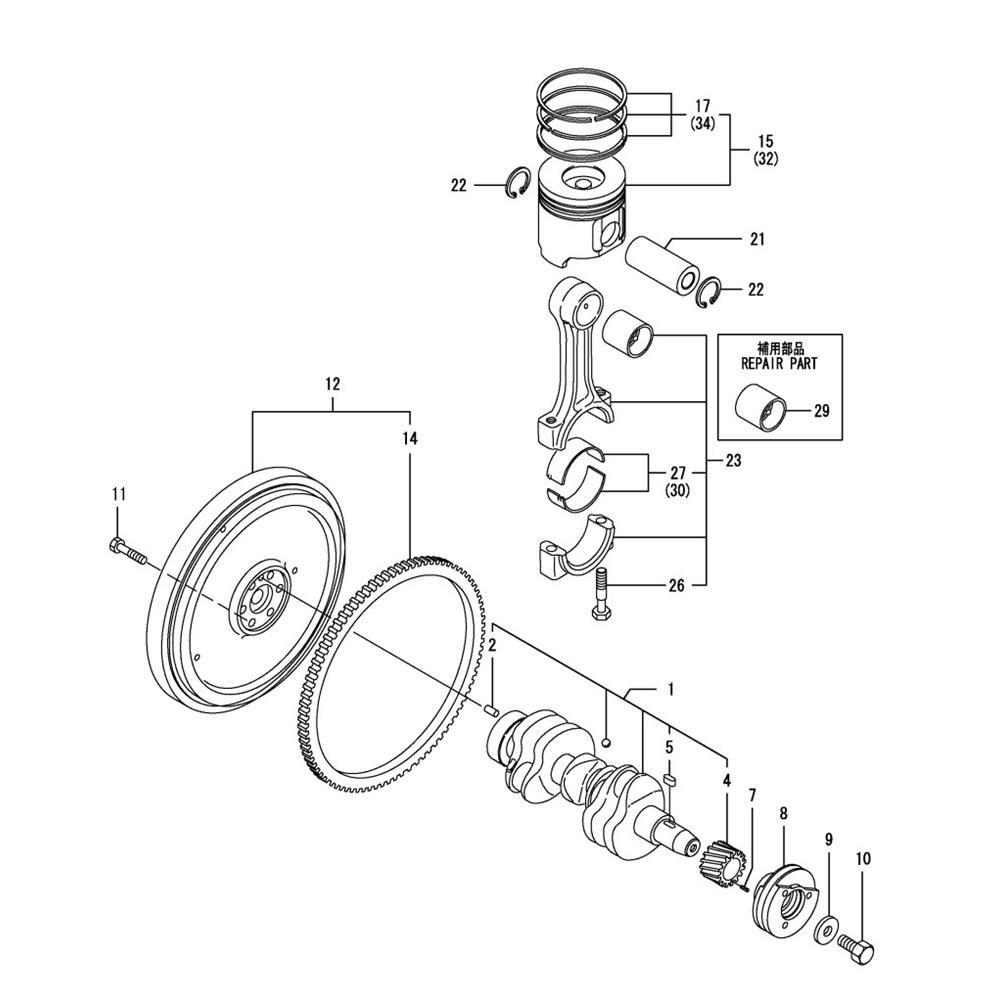
The Crankshaft and Piston Assembly for the Yanmar 3TNV88-BPTS Engine includes key components essential for engine function and longevity. This assembly ensures efficient power transfer and smooth operation. Genuine Yanmar parts are available, including pistons, rings, bearings, and connecting rods, to maintain optimal engine performance and reliability.
Reviews
Add a review
Write Your Own Review
Ask a Question
Customer Questions

