Description
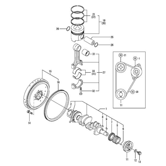
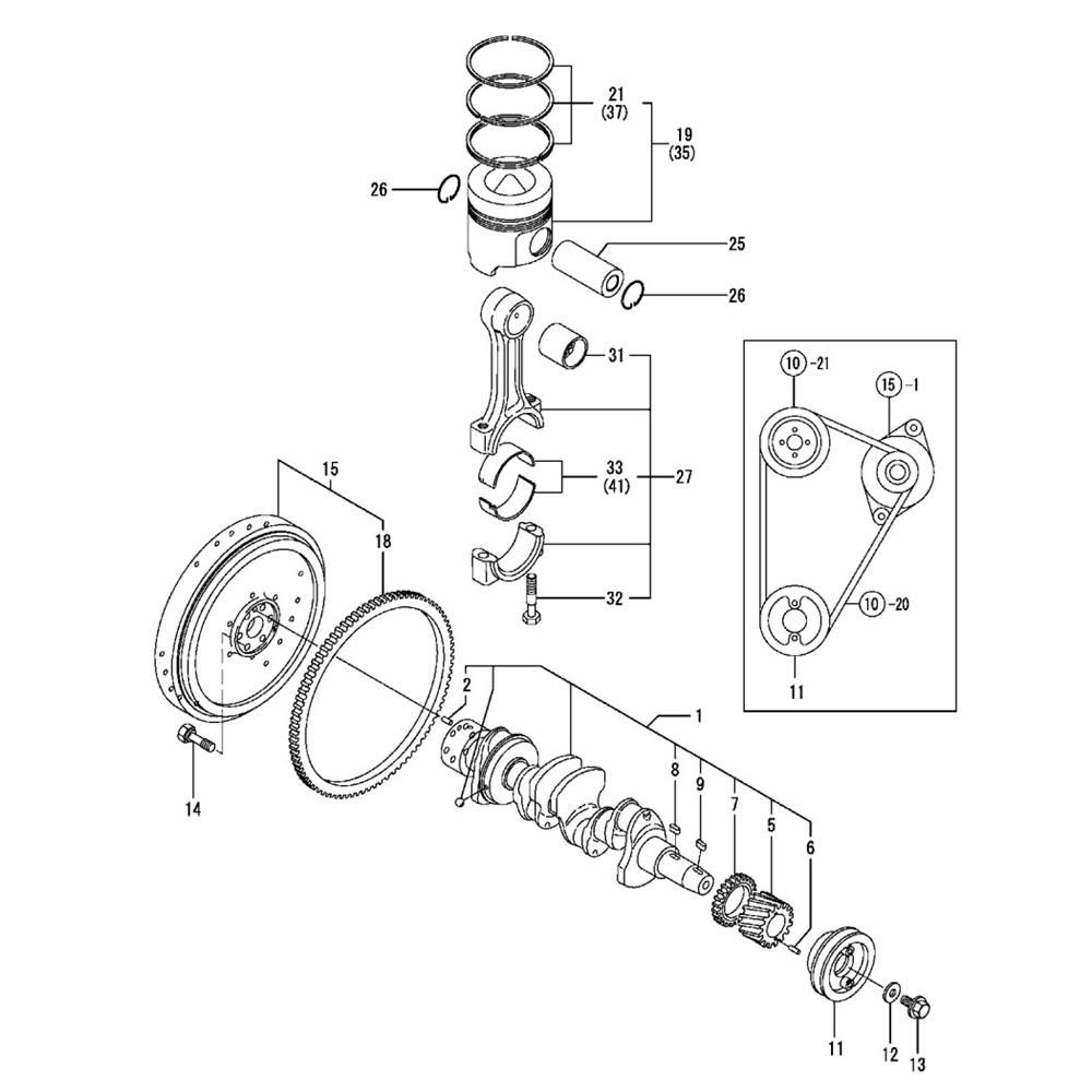
The Crankshaft and Piston Assembly for the Yanmar 4TNE88-RBS1 Engine includes key components essential for engine performance. This assembly ensures smooth operation by converting linear motion into rotational motion, crucial for engine function. Genuine Yanmar parts are available, including pistons, rings, bearings, and connecting rods, to maintain engine reliability and efficiency.
Reviews
Add a review
Write Your Own Review
Ask a Question
Customer Questions

