Description
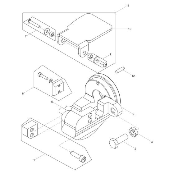
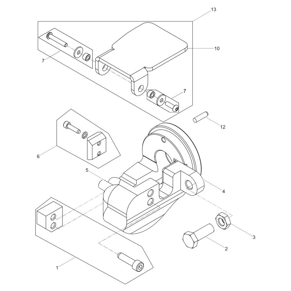
The Cutter Head Assembly for the Wacker RCP-20/230 Rebar Cutter is essential for maintaining optimal cutting performance. This assembly includes key components such as blades, springs, and levers, ensuring efficient operation. Designed for durability and precision, it supports the rebar cutter in handling tough materials. Genuine Wacker Neuson parts ensure compatibility and reliability.
Reviews
Add a review
Write Your Own Review
Ask a Question
Customer Questions

