Description
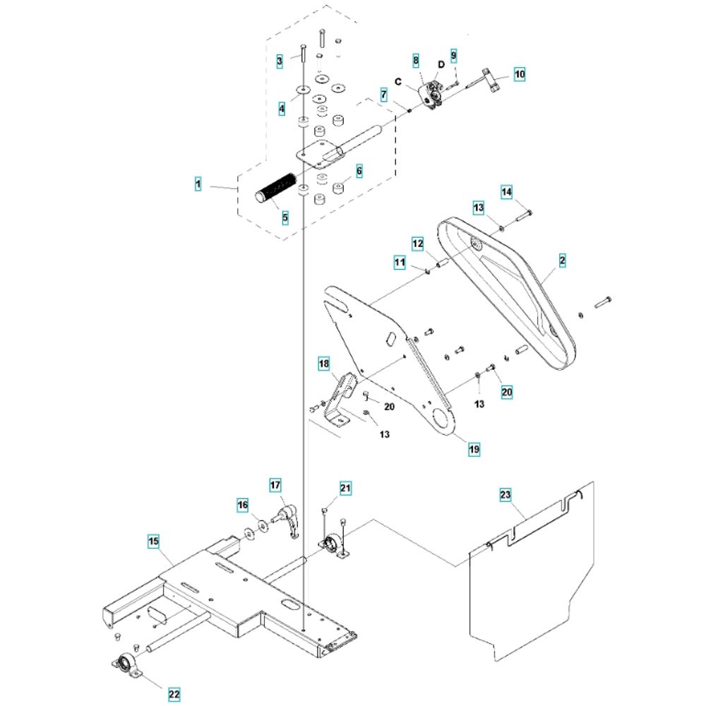
The Cutting Head Assembly for the Husqvarna MS 360 G Masonry Saw is designed to ensure precise and efficient cutting performance. This assembly includes essential components such as blades, guards, and tensioners, which work together to provide stability and accuracy during operation. Genuine Husqvarna parts ensure compatibility and durability, making it ideal for professional masonry work.
Reviews
Add a review
Write Your Own Review
Ask a Question
Customer Questions

