Description
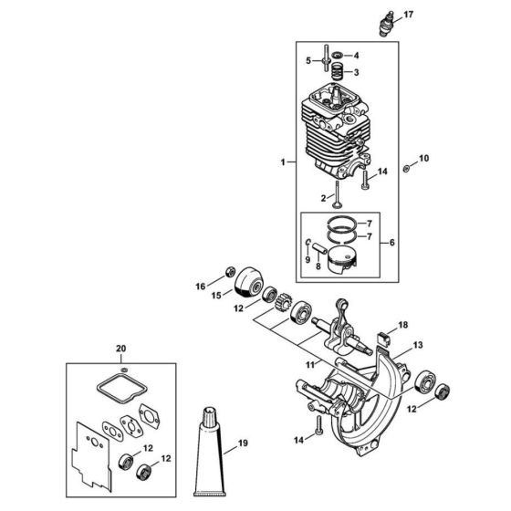
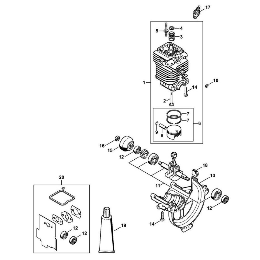
The Cylinder and Engine Pan for the Stihl HL 95 Long Reach Hedge Trimmer are essential components for maintaining optimal performance. These genuine Stihl parts ensure the engine operates smoothly, providing reliable power for trimming tasks. Designed for durability, they help protect the engine from wear and tear, extending the lifespan of your hedge trimmer.
Reviews
Add a review
Write Your Own Review
Ask a Question
Customer Questions

