Description
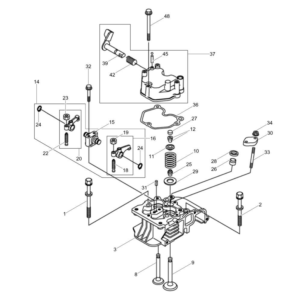
The Cylinder Head Assembly for the Wacker DPU45 Plate Compactor is crucial for optimal engine performance. It ensures efficient combustion and power delivery, contributing to the machine's reliability. This assembly includes components such as valves, springs, and gaskets, designed to fit the Wacker Neuson Reversible Plate Compactor.
Reviews
Add a review
Write Your Own Review
Ask a Question
Customer Questions

