Description
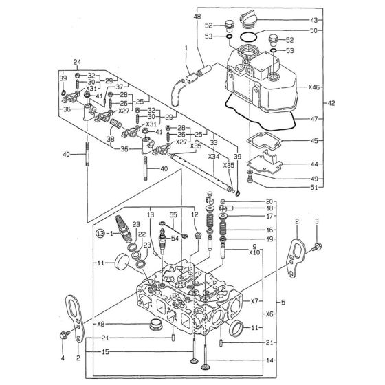
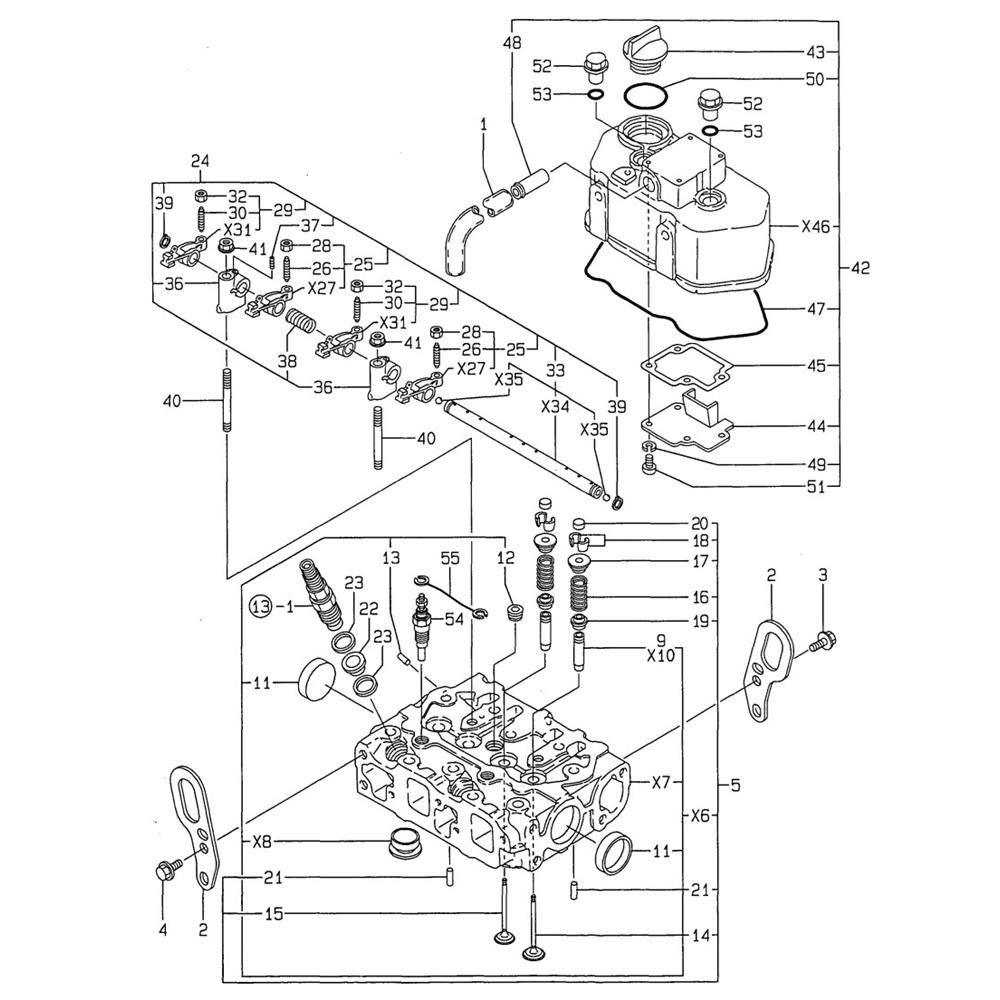
The Cylinder Head and Bonnet Assembly for the Yanmar 2TN66E-DB Engine comprises key components essential for engine efficiency and longevity. This assembly ensures optimal combustion and protection, featuring parts like gaskets, valves, and seals. Designed for precise fit and function, it supports engine performance by maintaining proper airflow and compression.
Reviews
Add a review
Write Your Own Review
Ask a Question
Customer Questions

