Description
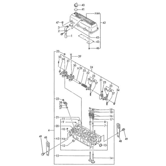
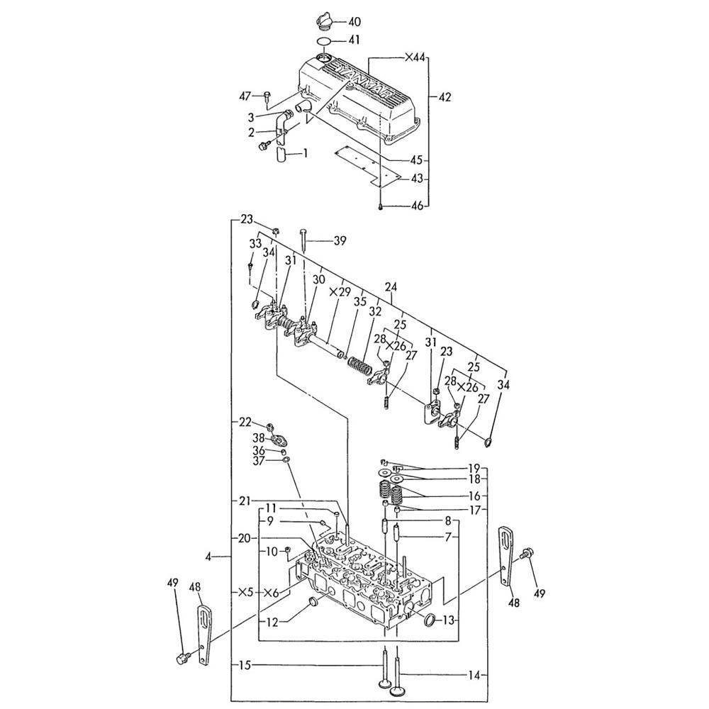
The Cylinder Head and Bonnet Assembly for the Yanmar 3TN100E-SMD Engine includes key components essential for engine performance and longevity. This assembly ensures efficient combustion and proper sealing, contributing to optimal engine function. Genuine Yanmar parts are available, ensuring compatibility and reliability for maintenance and repair tasks.
Reviews
Add a review
Write Your Own Review
Ask a Question
Customer Questions

