Description
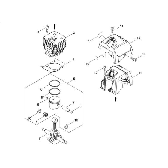
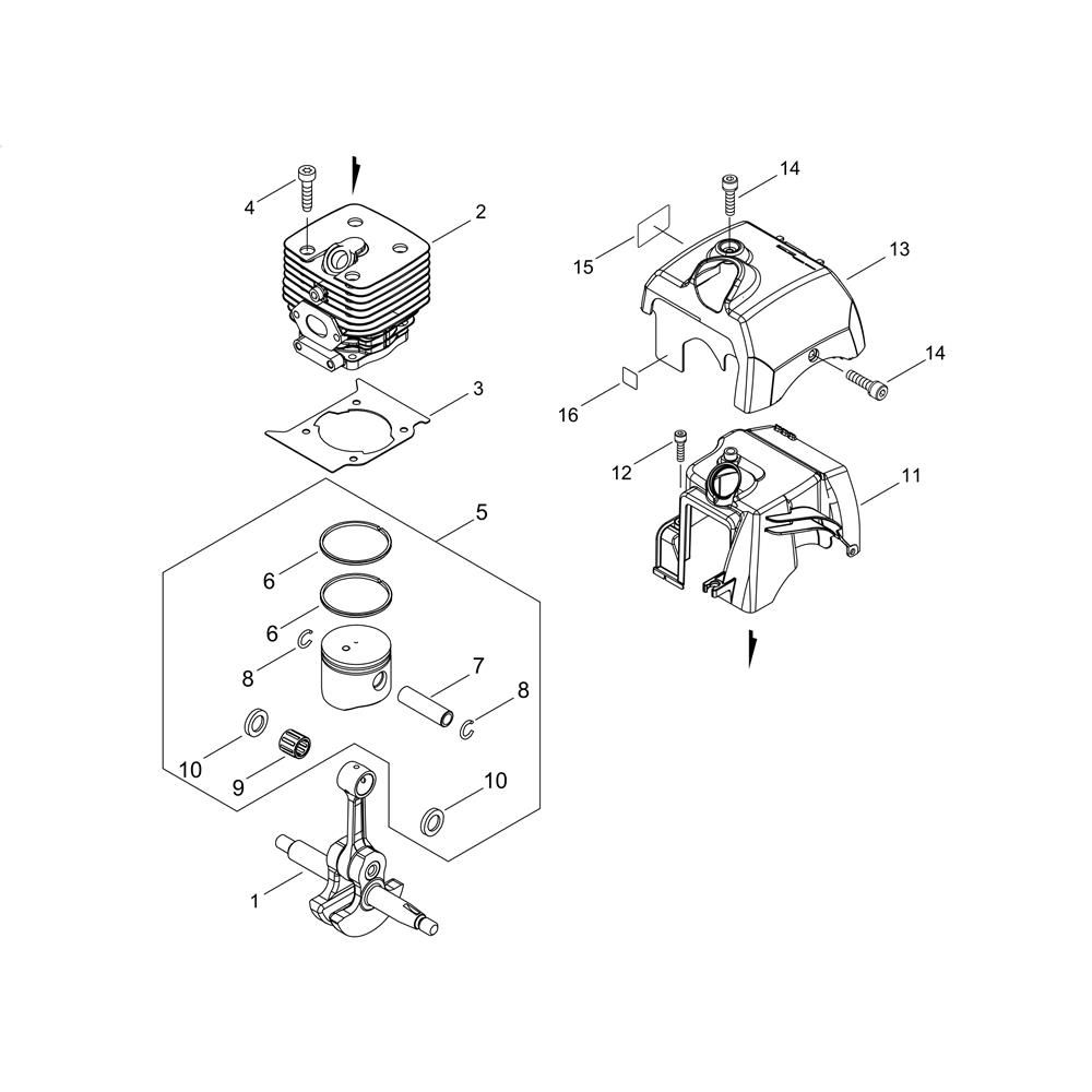
The Cylinder, Piston, and Crankshaft set for the ECHO BCLS-520ES Brushcutter is essential for maintaining optimal engine performance. These components work together to ensure efficient combustion and power transfer. The cylinder houses the piston, which moves to compress the fuel-air mixture, while the crankshaft converts this motion into rotational energy. Available in genuine and non-genuine options.
Reviews
Add a review
Write Your Own Review
Ask a Question
Customer Questions

