Description
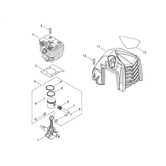
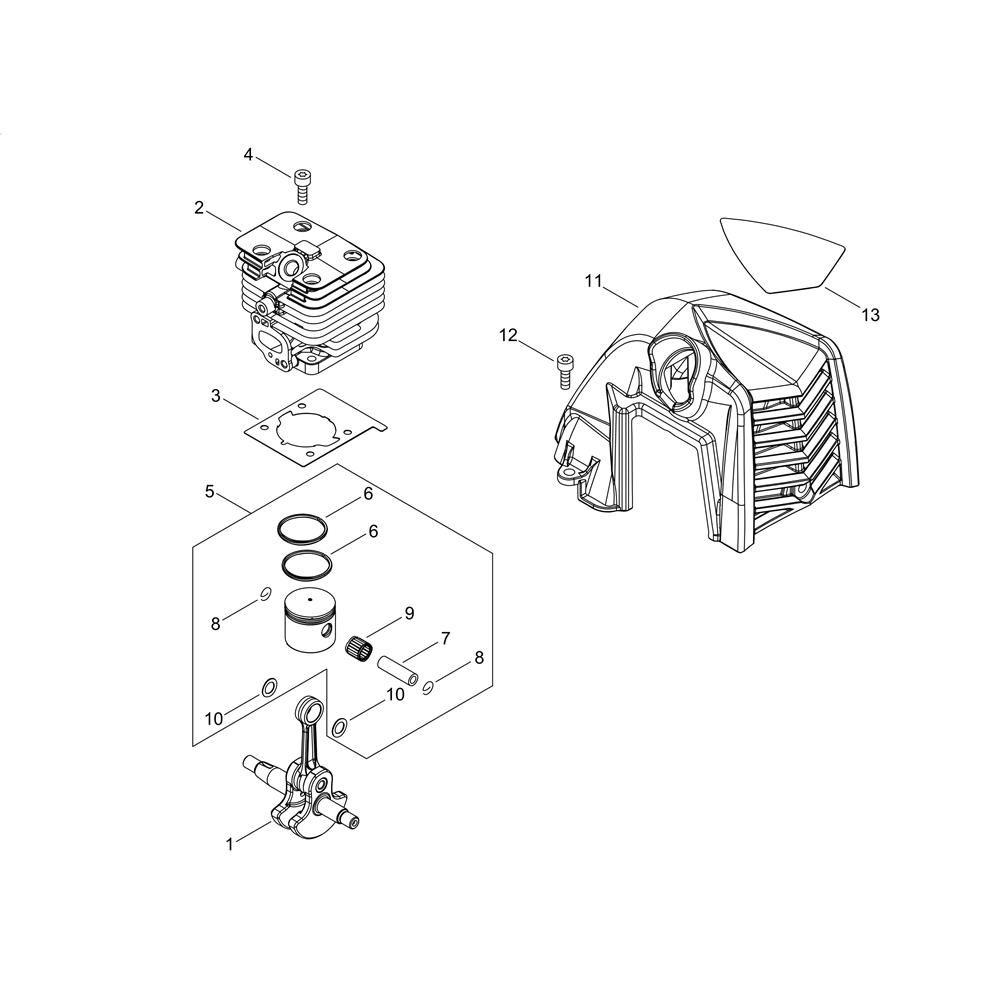
The Cylinder, Piston, and Crankshaft set for the ECHO SRM-2620ES/U Brushcutter ensures optimal engine performance and longevity. These components are crucial for maintaining the brushcutter's power and efficiency. Available in both genuine and non-genuine parts, they support effective combustion and smooth operation, reducing wear and tear on the engine.
Reviews
Add a review
Write Your Own Review
Ask a Question
Customer Questions

