Description
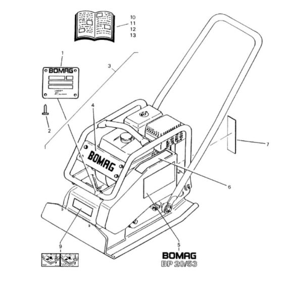
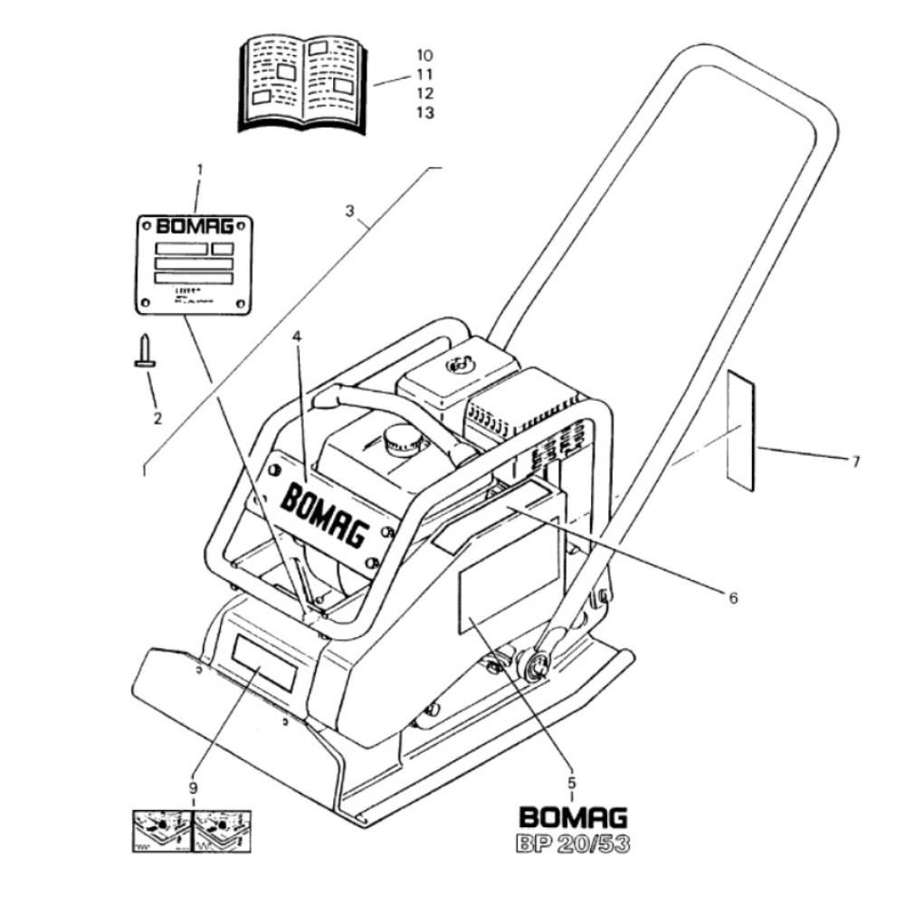
The Decals Assembly for Bomag BP 20/53 Compactors includes essential markings and labels to ensure proper operation and safety compliance. These decals are genuine Bomag spare parts, designed to withstand outdoor conditions and provide clear, durable identification. Suitable for maintenance and replacement, they help maintain the machine's professional appearance and functionality.
Reviews
Add a review
Write Your Own Review
Ask a Question
Customer Questions

