Description
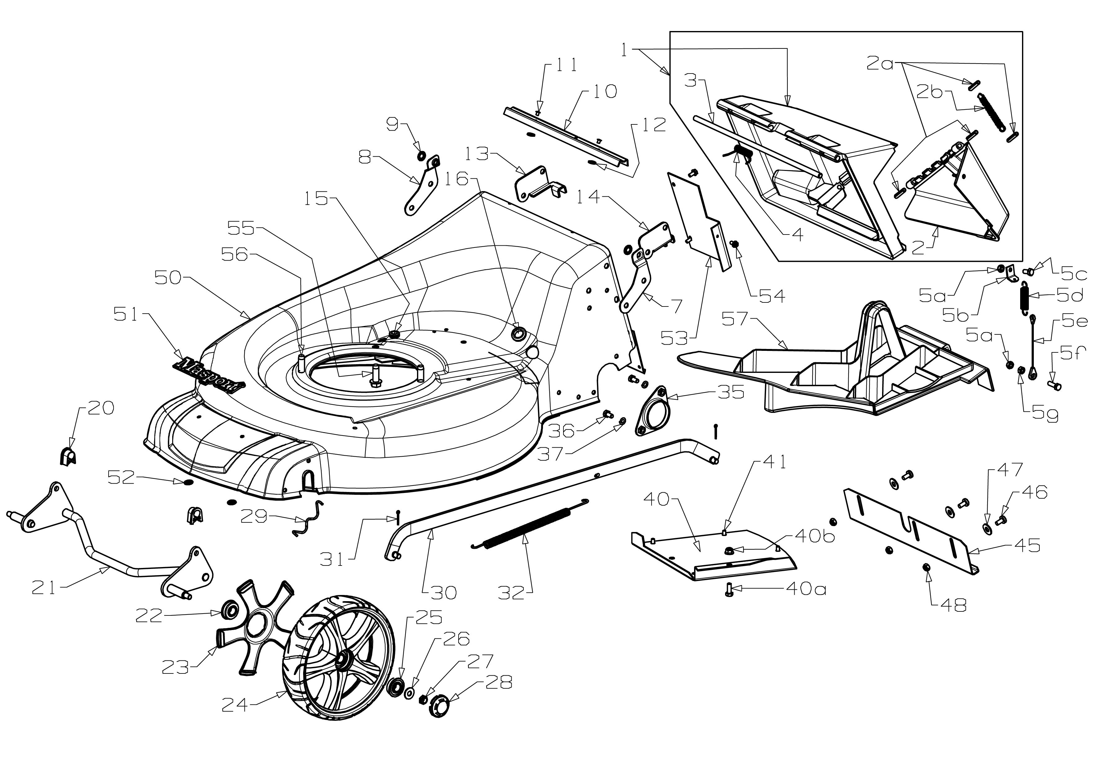
The Deck Assembly for the Masport 800ST Mower is designed to provide a robust and efficient mowing experience. It includes essential components such as the cutting deck, blades, and mounting brackets, ensuring optimal performance and durability. This assembly is crucial for maintaining the mower's cutting efficiency and overall functionality.
Reviews
Add a review
Write Your Own Review
Ask a Question
Customer Questions

