Description
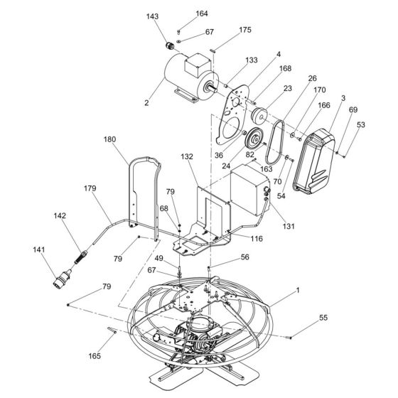
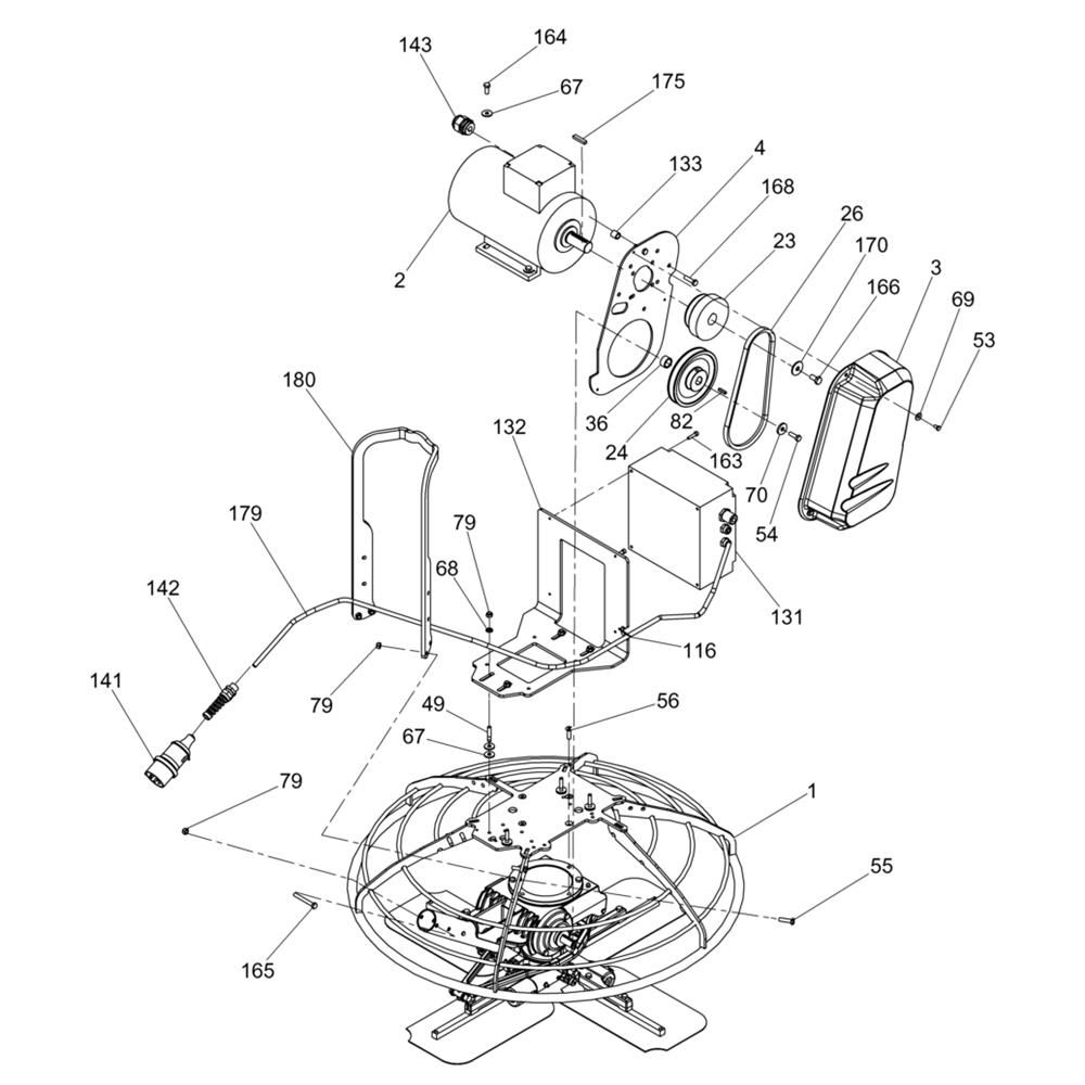
The Drive Assembly for the Wacker CT36-400E Trowel is crucial for the efficient operation of this electric trowel. It includes key components that ensure smooth and reliable performance, such as gears, belts, and pulleys. Designed to maintain the machine's functionality, this assembly helps in achieving optimal results on concrete surfaces.
Reviews
Add a review
Write Your Own Review
Ask a Question
Customer Questions

