Description
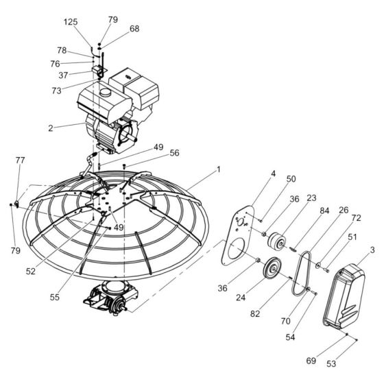
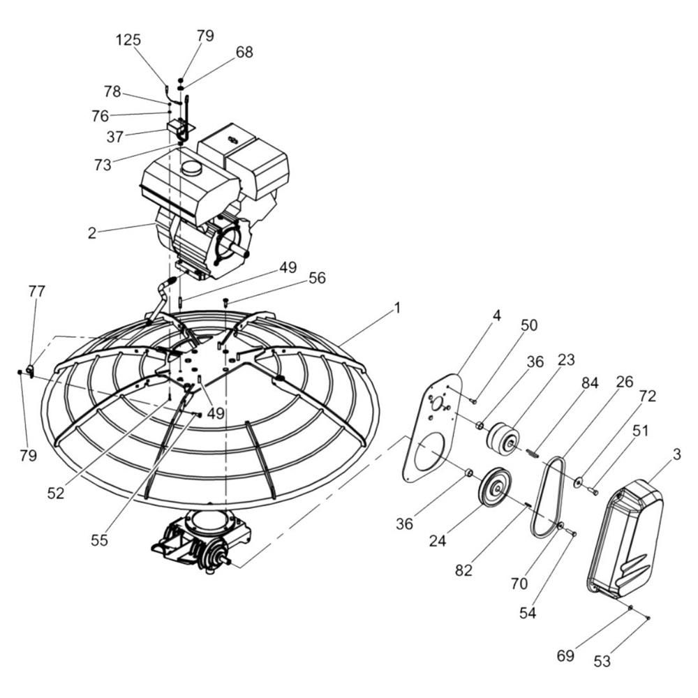
The Drive System Assembly for the Wacker CT36-5 Trowel includes key components essential for the efficient operation of this walk-behind trowel. It ensures smooth power transmission and optimal performance during concrete finishing tasks. Typical parts in this assembly may include belts, pulleys, and shafts, all designed to maintain the reliability and durability of the Wacker Neuson equipment.
Reviews
Add a review
Write Your Own Review
Ask a Question
Customer Questions

