Description
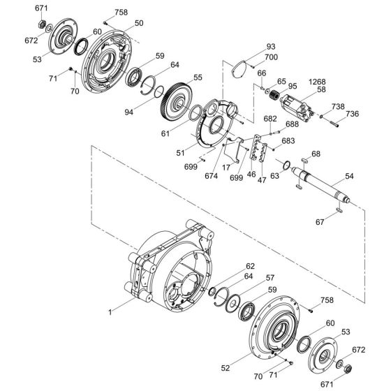
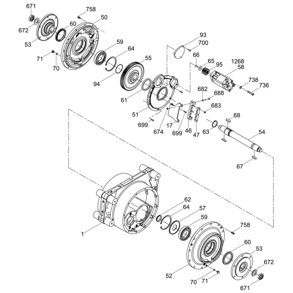
The Drum Drive Assembly for the Wacker RTx-SC2 Trench Roller is essential for efficient operation and maintenance. This assembly includes components that ensure smooth and reliable drum rotation, critical for effective soil compaction. Genuine Wacker Neuson parts are used to maintain the machine's performance and longevity, providing optimal results in construction and landscaping projects.
Reviews
Add a review
Write Your Own Review
Ask a Question
Customer Questions

