Description
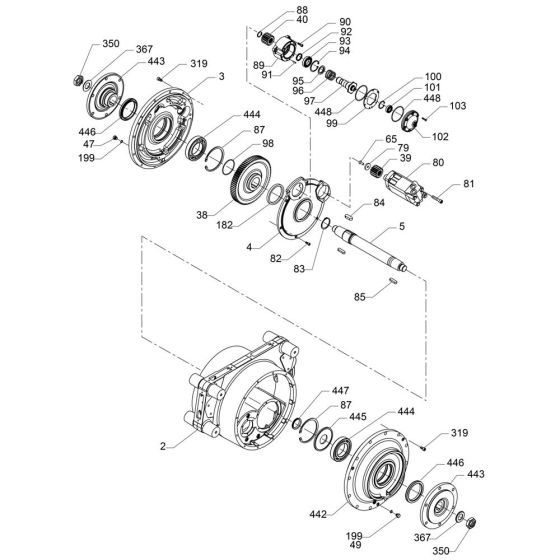
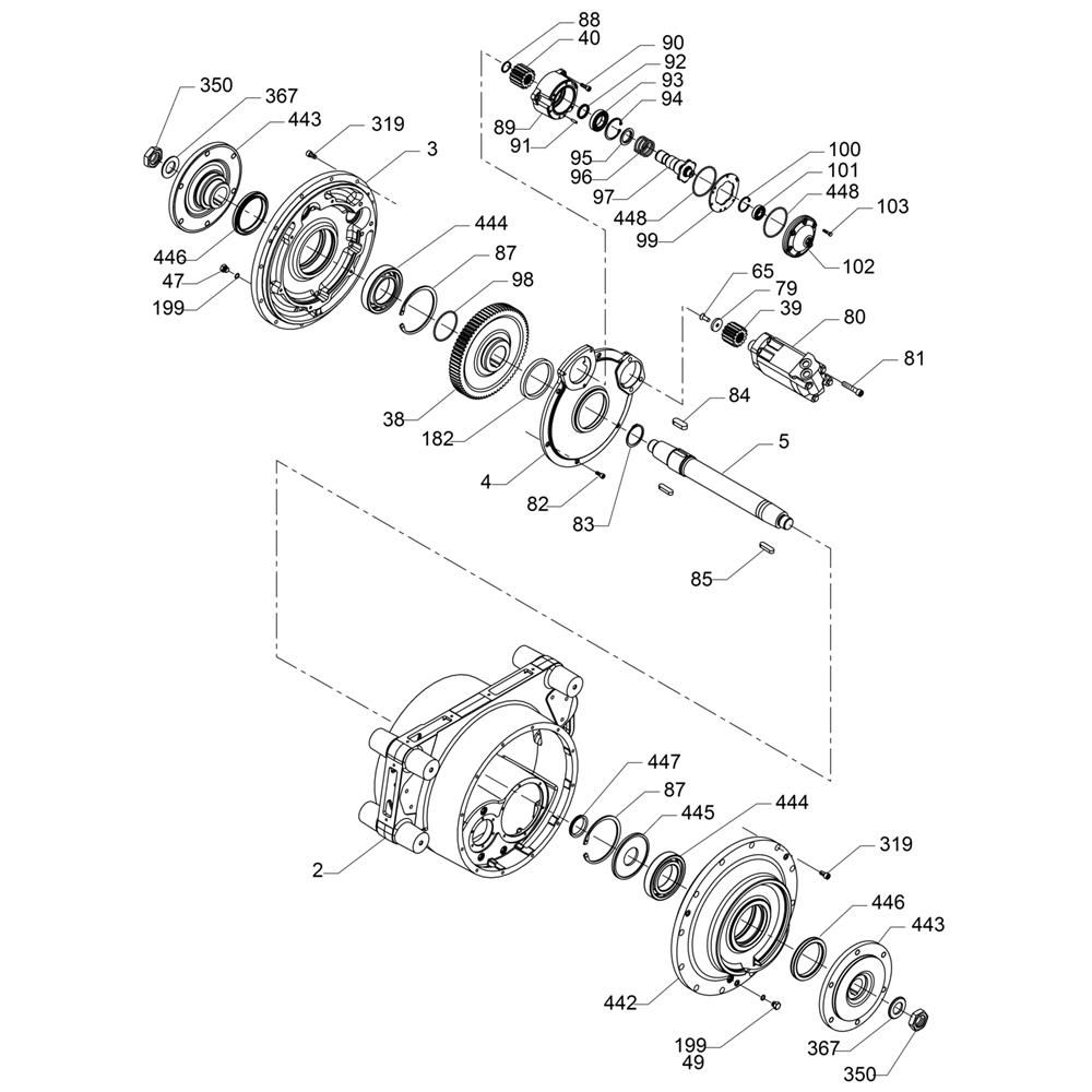
The Drum Drive with Brake Assembly for the Wacker RT820 Trench Roller is essential for effective operation and safety. This assembly ensures smooth drum rotation and reliable braking, crucial for trench compaction tasks. Genuine Wacker Neuson parts are included, such as gears, brake components, and seals, to maintain optimal performance and durability in demanding environments.
Reviews
Add a review
Write Your Own Review
Ask a Question
Customer Questions

