Description
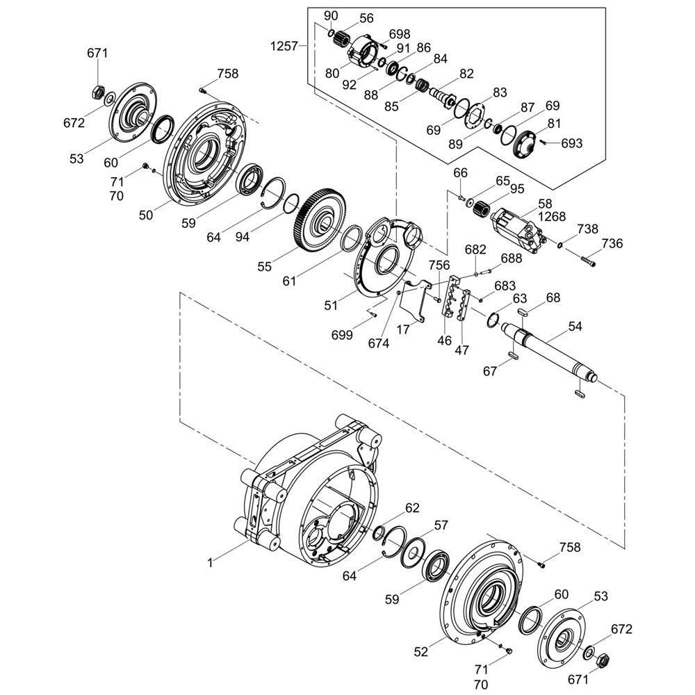
The Drum Drive with Brake Assembly for the Wacker RTK82-SC3 Trench Roller is essential for maintaining optimal performance. This assembly ensures efficient power transmission and reliable braking, crucial for safe operation. Components include drive gears, brake pads, and hydraulic parts, all designed to withstand rigorous use. Genuine Wacker Neuson parts ensure compatibility and durability.
Reviews
Add a review
Write Your Own Review
Ask a Question
Customer Questions

