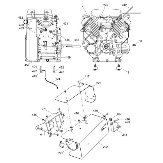
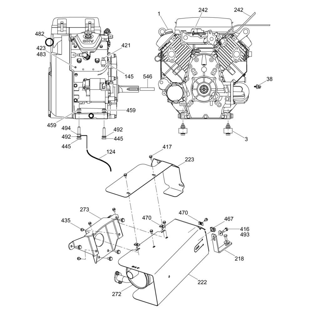
Description
The Engine Assembly for the Wacker CRT 36-24 A-E Trowel is designed to ensure optimal performance and longevity of your ride-on trowel. This assembly includes key components such as pistons, cylinders, and gaskets, which are essential for maintaining the engine's efficiency and reliability. Genuine Wacker Neuson parts guarantee compatibility and durability, making them ideal for regular maintenance and repairs.
Reviews
Add a review
Write Your Own Review
Ask a Question
Customer Questions

