Description
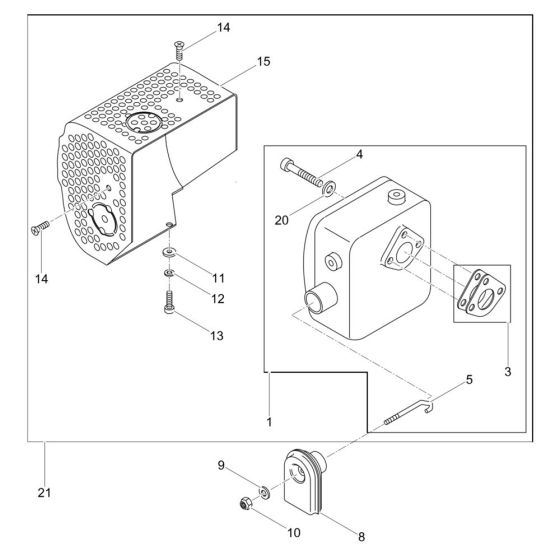
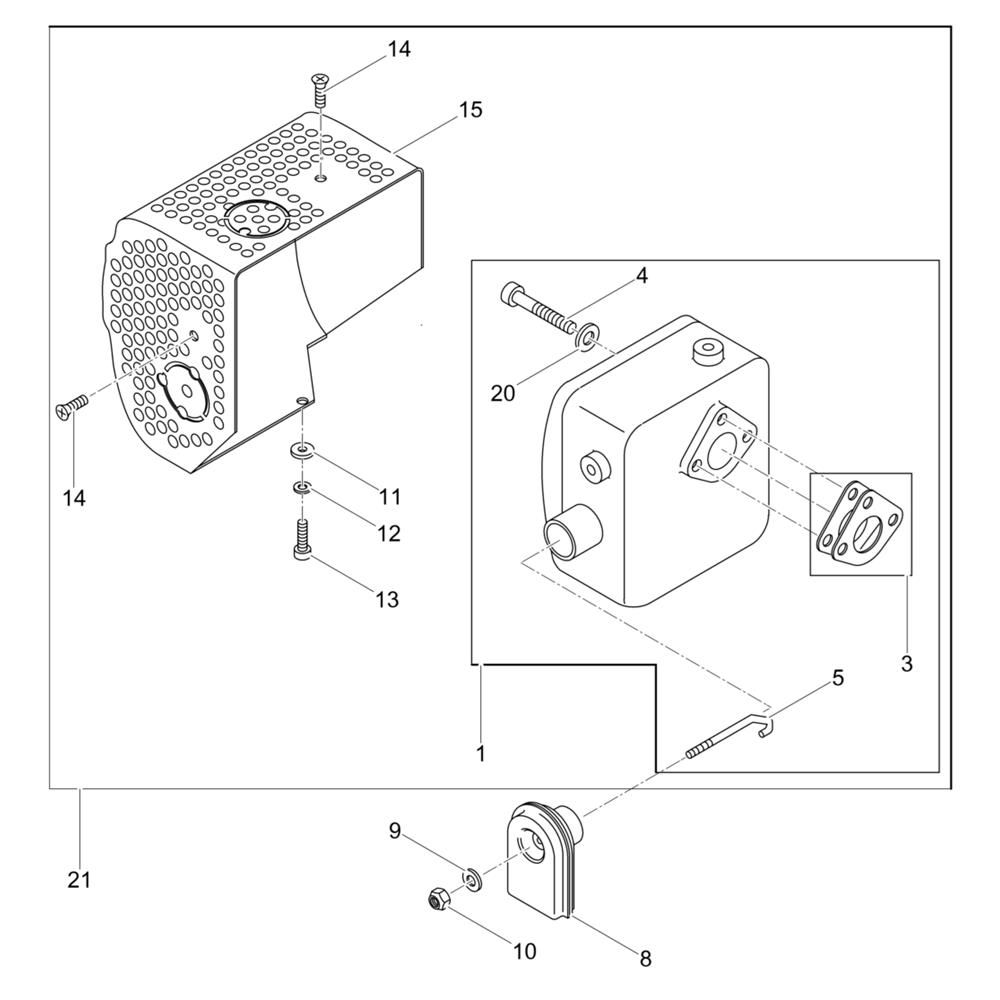
The Exhaust Assembly for the Wacker DPS2050Hw Plate Compactor is designed to ensure optimal performance by effectively managing exhaust gases. This assembly includes key components such as mufflers and pipes, which help reduce noise and emissions. Suitable for routine maintenance and repair, it supports the longevity of the Wacker Neuson Forward Plate Compactor.
Reviews
Add a review
Write Your Own Review
Ask a Question
Customer Questions

