Description
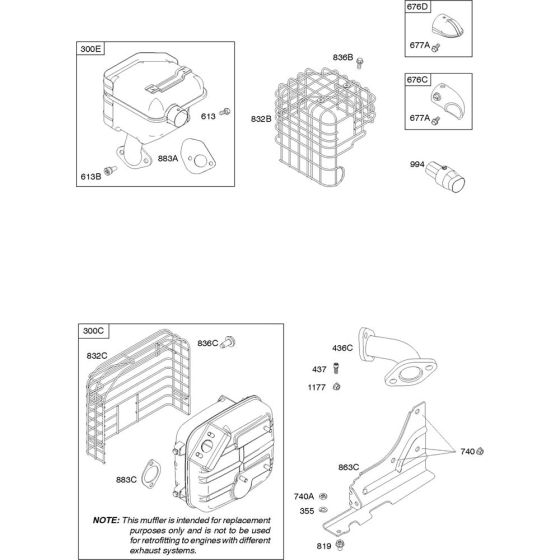
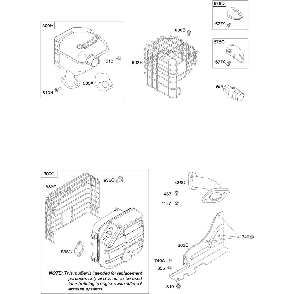
The Exhaust System Assembly for the Briggs & Stratton Model No. 20S237-0042-F1 Horizontal Shaft Engine is designed to manage engine emissions effectively. This assembly includes components such as mufflers, gaskets, and pipes, ensuring optimal engine performance and noise reduction. Suitable for the 1400 Series, it is available in genuine and non-genuine parts.
Reviews
Add a review
Write Your Own Review
Ask a Question
Customer Questions

