Description
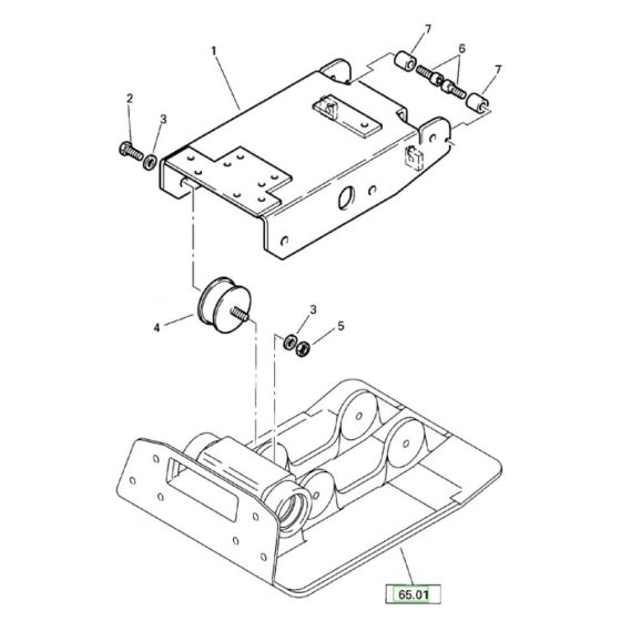
The Frame Assembly for Bomag BP 15/45D Compactors is a crucial component designed to support and stabilise the machine during operation. This genuine Bomag spare part ensures optimal performance and longevity. The assembly includes various parts such as brackets, mounts, and fasteners, all engineered to withstand the rigours of compacting tasks.
Reviews
Add a review
Write Your Own Review
Ask a Question
Customer Questions

