Description
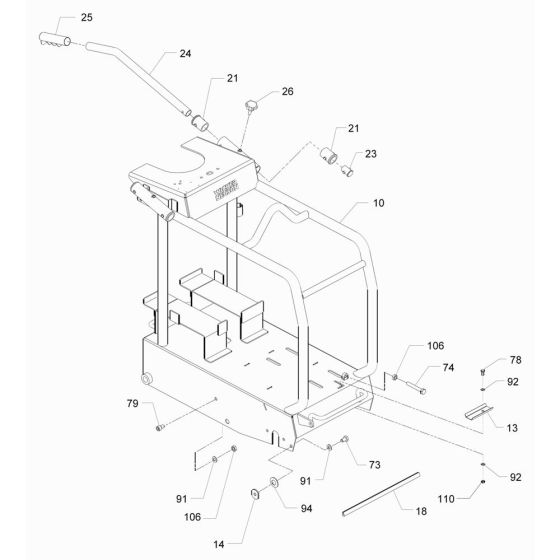
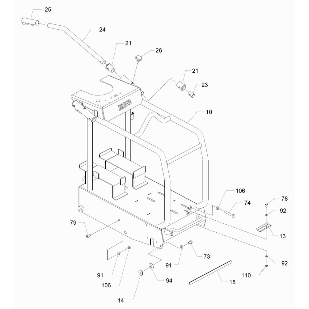
The Frame Assembly for the Wacker BFS 130 Floor Saw is designed to support the machine's structure and ensure stability during operation. It includes essential components such as brackets, mounts, and fasteners, which are crucial for maintaining the saw's alignment and performance. This assembly is vital for both routine maintenance and repairs.
Reviews
Add a review
Write Your Own Review
Ask a Question
Customer Questions

