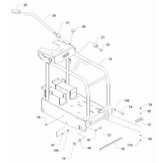
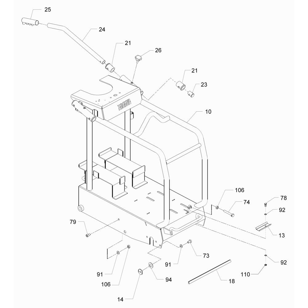
Description
The Frame Assembly for the Wacker BFSX 130 Floor Saw is designed to provide structural integrity and support for efficient cutting operations. This assembly includes components such as brackets, mounts, and fasteners, ensuring stability and precision during use. Ideal for maintaining the performance of your floor saw, it supports the machine's overall functionality and durability.
Reviews
Add a review
Write Your Own Review
Ask a Question
Customer Questions

