Description
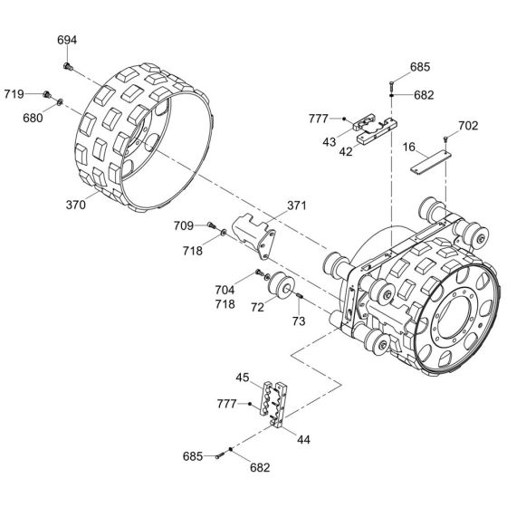
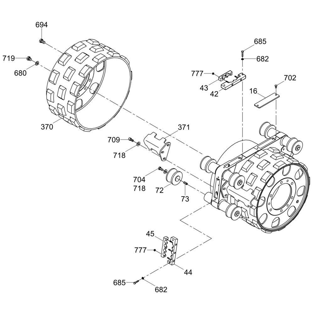
The Front Drum Assembly for the Wacker RT56-SC Trench Roller is designed to ensure optimal performance and durability. This assembly includes key components such as rollers, bearings, and seals, which are essential for maintaining the machine's efficiency. Genuine parts help in reducing wear and tear, ensuring smooth operation in various trenching applications.
Reviews
Add a review
Write Your Own Review
Ask a Question
Customer Questions

