Description
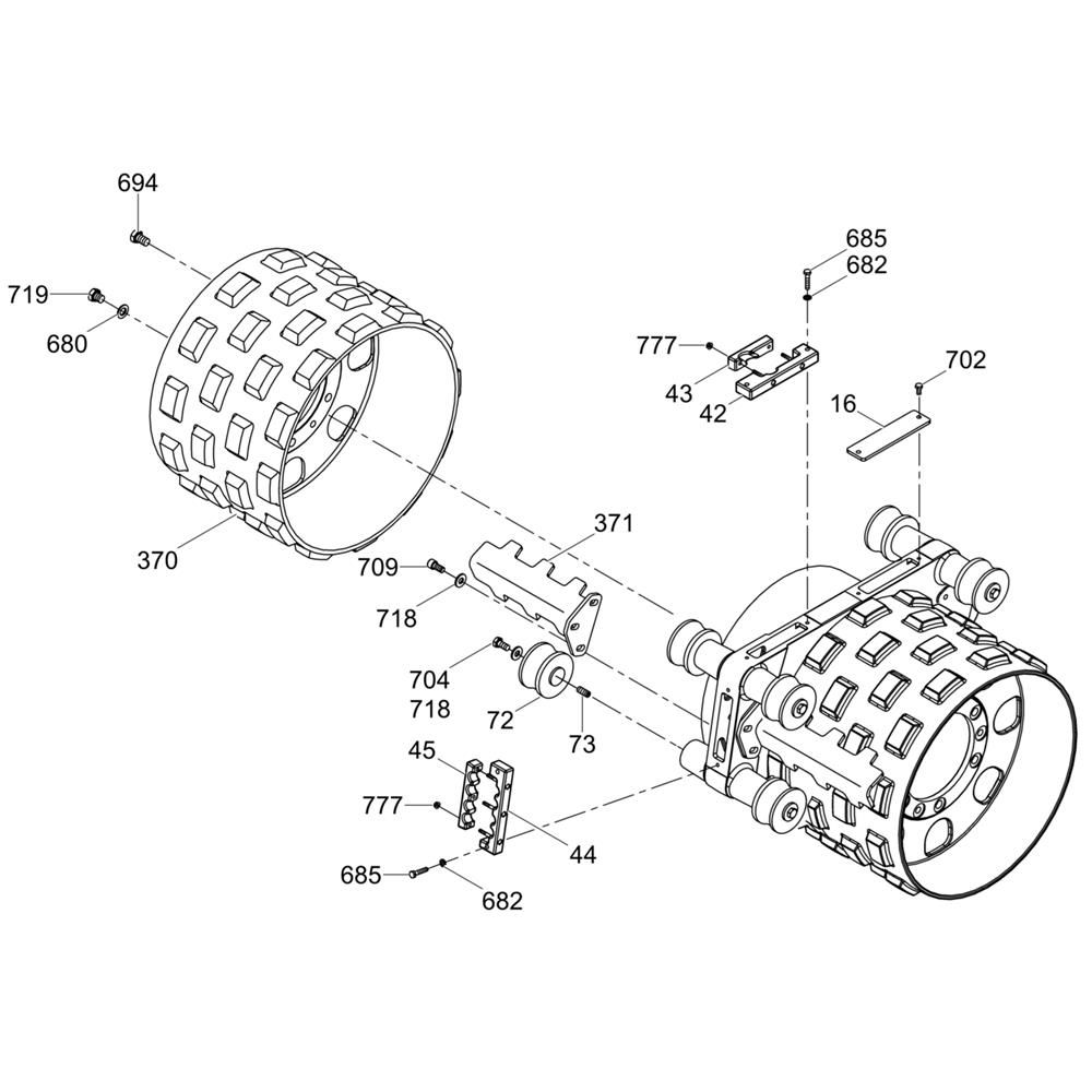
The Front Drum Assembly for the Wacker RT82-SC Trench Roller is crucial for effective soil compaction. This assembly ensures optimal performance and durability, featuring components like rollers, bearings, and seals. Designed to withstand demanding conditions, it helps maintain the trench roller's efficiency and reliability. Genuine Wacker Neuson parts ensure compatibility and longevity.
Reviews
Add a review
Write Your Own Review
Ask a Question
Customer Questions

