Description
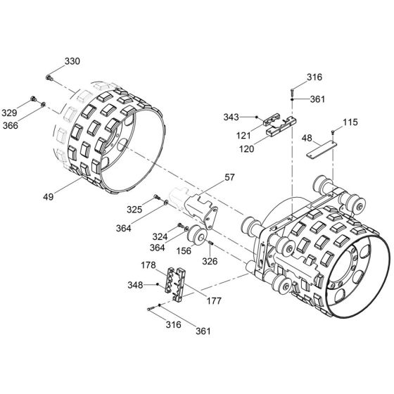
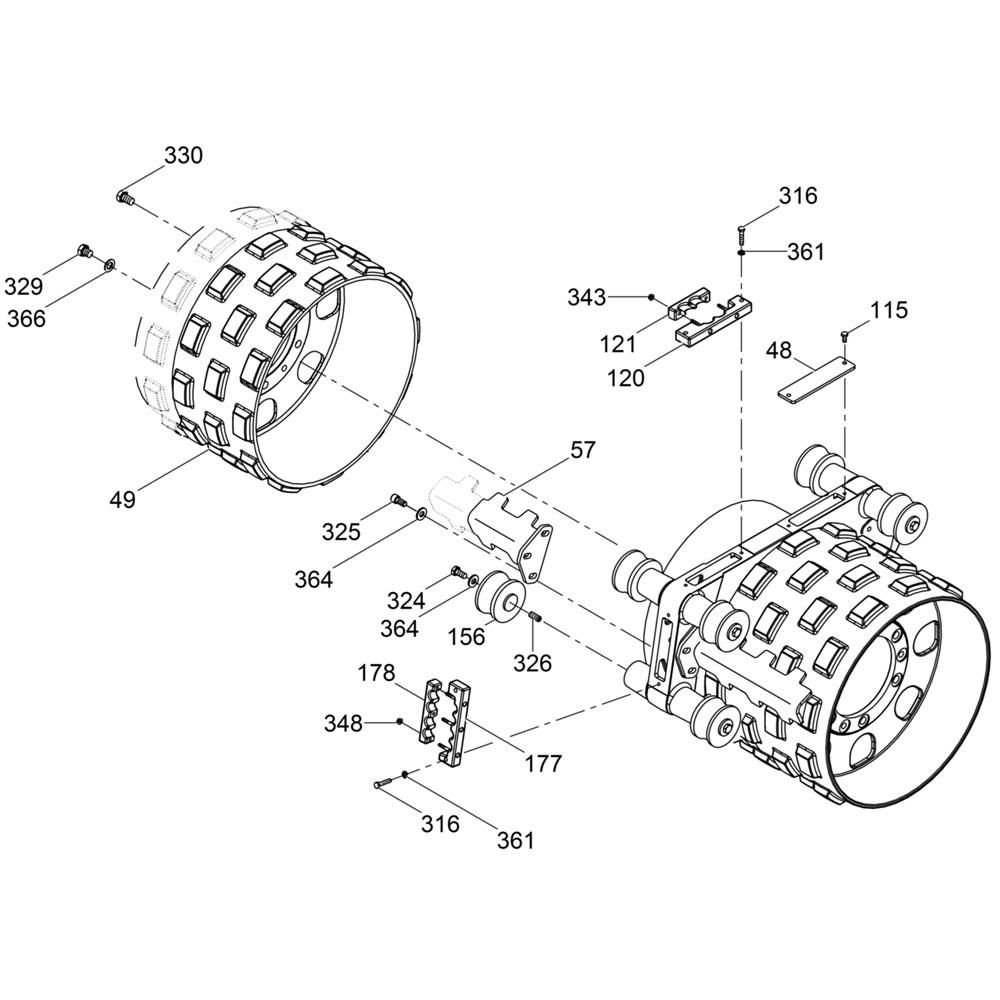
The Front Drum Assembly for the Wacker RT820 Trench Roller is designed to ensure optimal performance and durability. This assembly includes key components such as bearings, seals, and rollers, which are essential for smooth operation and effective compaction. Genuine Wacker Neuson parts are used to maintain the reliability and efficiency of the trench roller.
Reviews
Add a review
Write Your Own Review
Ask a Question
Customer Questions

