Description
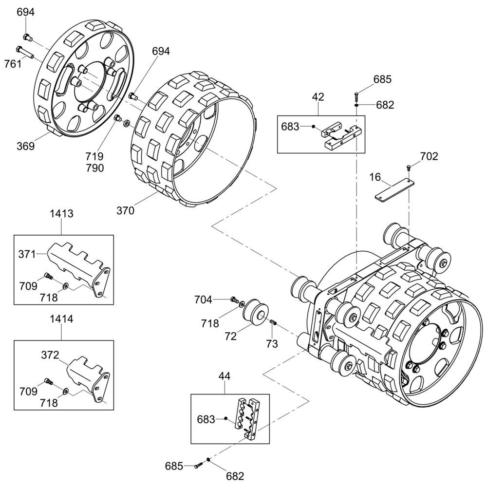
The Front Drum Assembly for the Wacker RTx-SC2 Trench Roller is essential for maintaining optimal performance in trench compaction tasks. This assembly includes key components that ensure smooth operation and effective soil compaction. Genuine Wacker Neuson parts are used to guarantee compatibility and durability, supporting the machine's efficiency and longevity.
Reviews
Add a review
Write Your Own Review
Ask a Question
Customer Questions

