Description
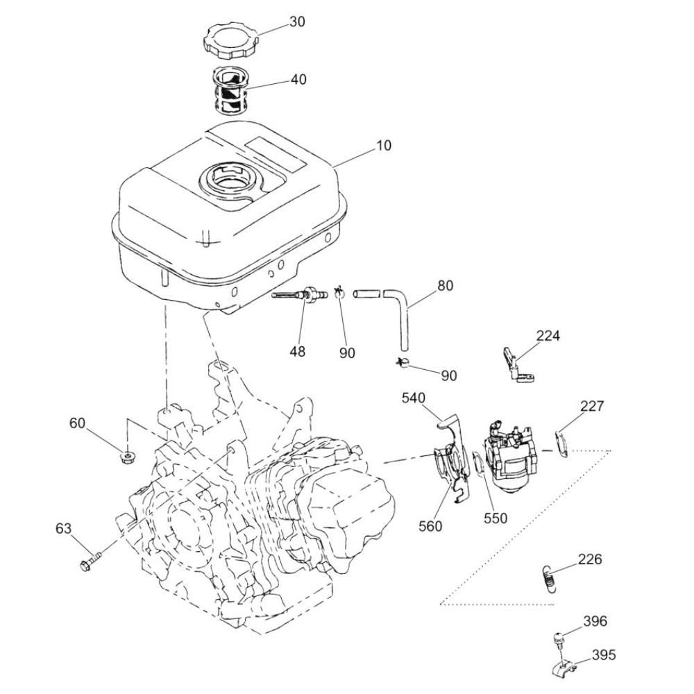
The Fuel Tank Assembly for the Wacker CT36-9 Trowel is designed to ensure optimal performance and reliability. This assembly includes essential components that facilitate fuel storage and delivery, helping maintain the trowel's efficiency. Genuine Wacker Neuson parts ensure compatibility and durability, supporting the machine's operational needs.
Reviews
Add a review
Write Your Own Review
Ask a Question
Customer Questions

