Description
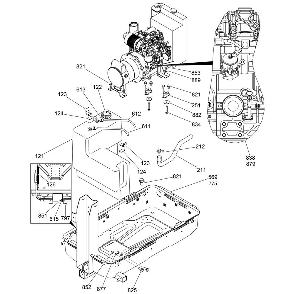
The Fuel Tank Assembly for the Wacker LTN6C Lighting Tower includes essential components to ensure efficient fuel storage and delivery. This assembly is crucial for maintaining the lighting tower's operation, providing a reliable fuel supply to the engine. Components may include hoses, clamps, and seals, designed to fit seamlessly with the Wacker Neuson model.
Reviews
Add a review
Write Your Own Review
Ask a Question
Customer Questions

