Description
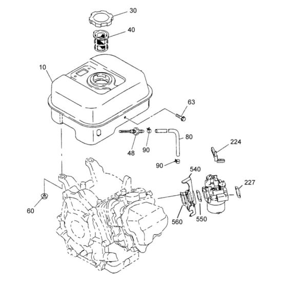
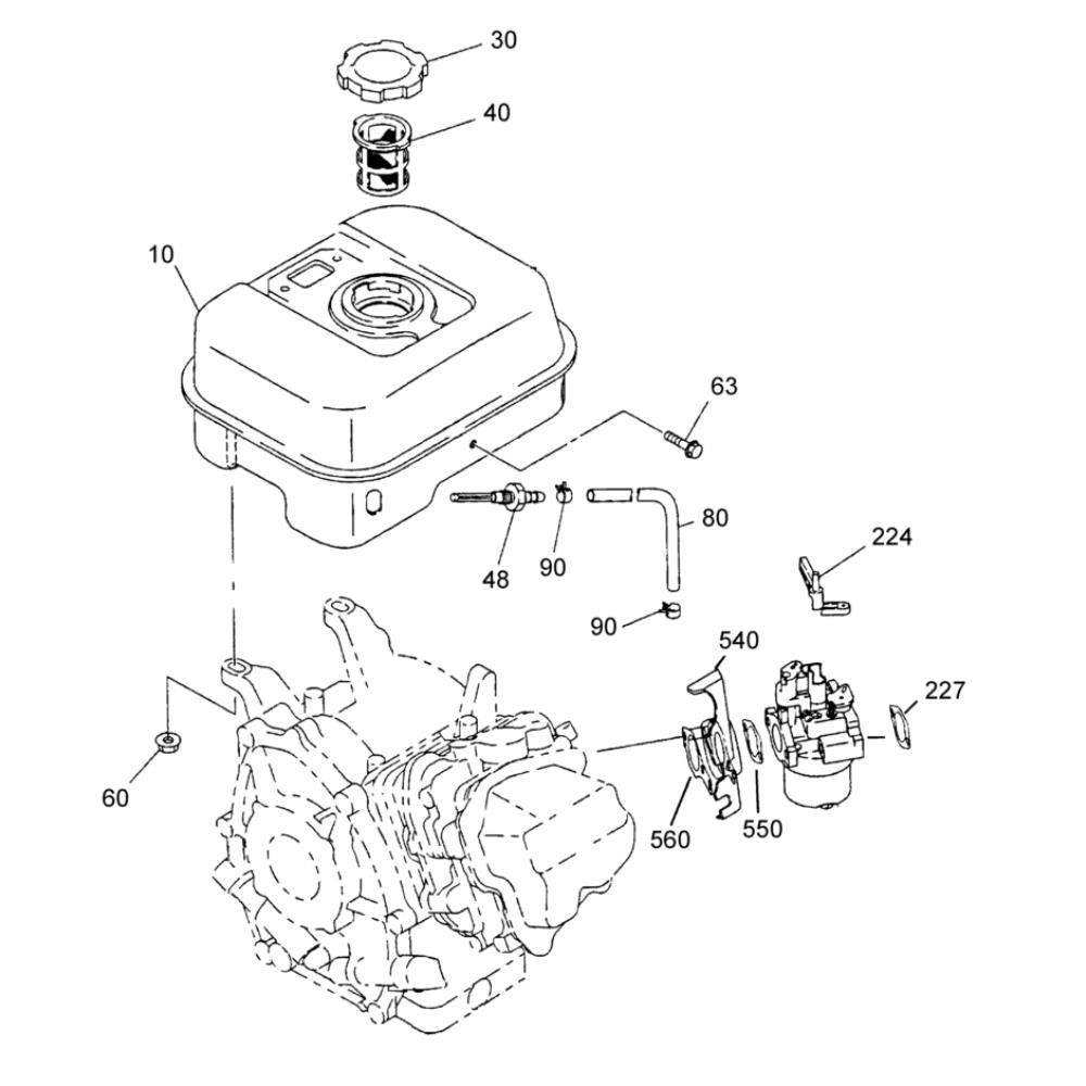
The Fuel Tank Assembly for the Wacker PDT2 Pump is designed to ensure optimal performance and reliability. This assembly includes essential components such as the fuel cap, hoses, and seals, which are crucial for maintaining the pump's efficiency. Genuine Wacker Neuson parts ensure compatibility and durability, making them ideal for routine maintenance and repairs.
Reviews
Add a review
Write Your Own Review
Ask a Question
Customer Questions

