Description
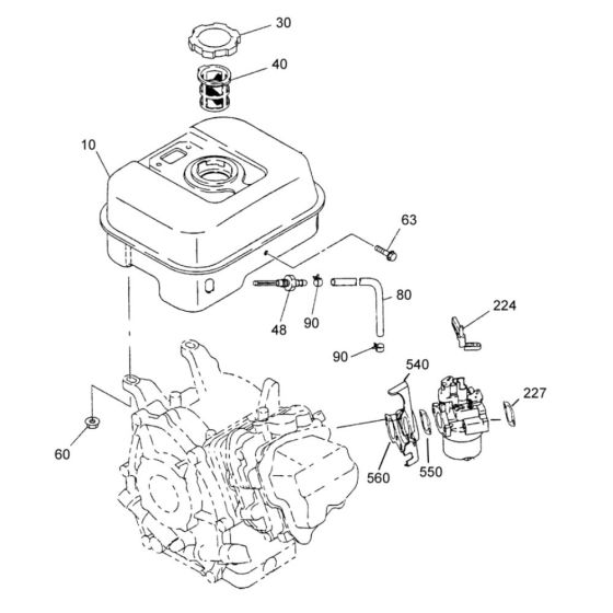
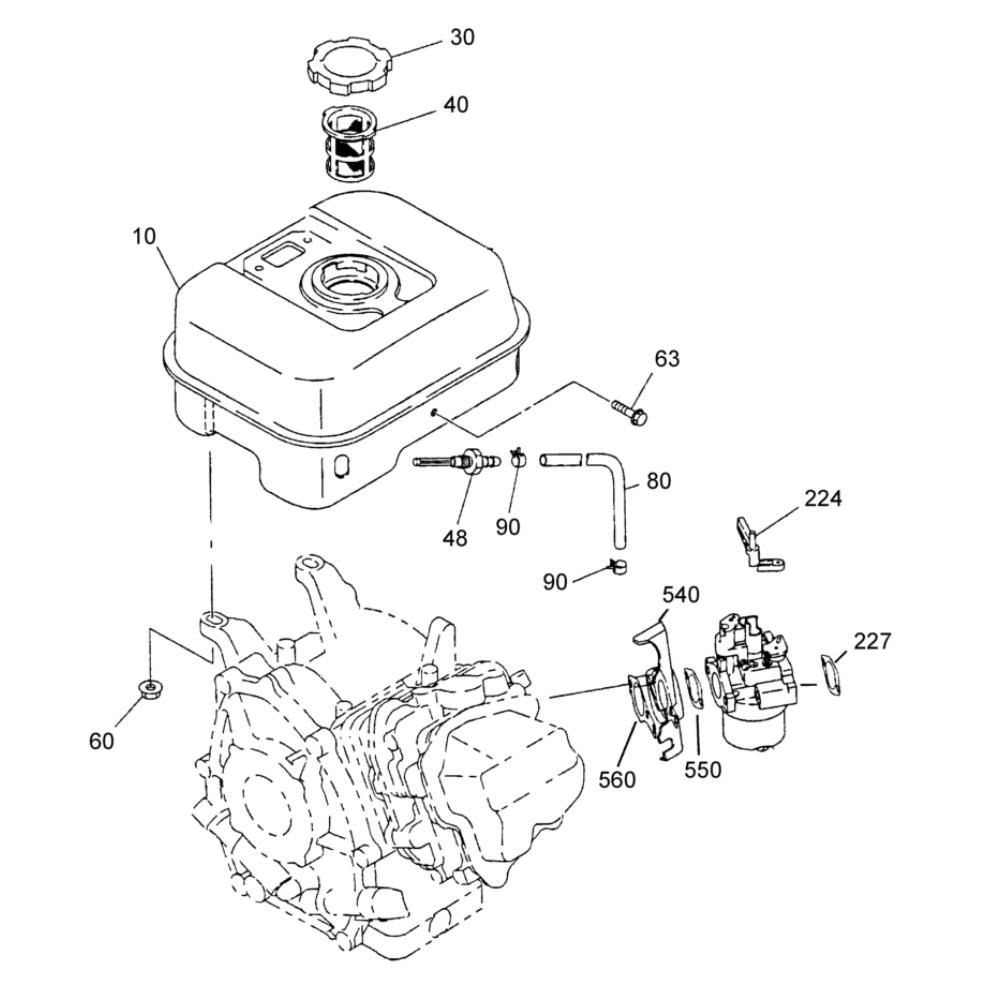
The Fuel Tank Assembly for the Wacker PG3 Pump is designed to ensure efficient fuel storage and delivery for optimal pump performance. This assembly includes components such as the fuel tank, cap, and connecting hoses, which are essential for maintaining the pump's operation. Genuine Wacker Neuson parts ensure compatibility and reliability.
Reviews
Add a review
Write Your Own Review
Ask a Question
Customer Questions

